EasyManua.ls Logo

Samwha DSP DSP-VIP-PM - PC;PLC to DSP via RS-485;422

Default Icon
60 pages
Print Icon
To Next Page IconTo Next Page
To Next Page IconTo Next Page
To Previous Page IconTo Previous Page
To Previous Page IconTo Previous Page
Loading...
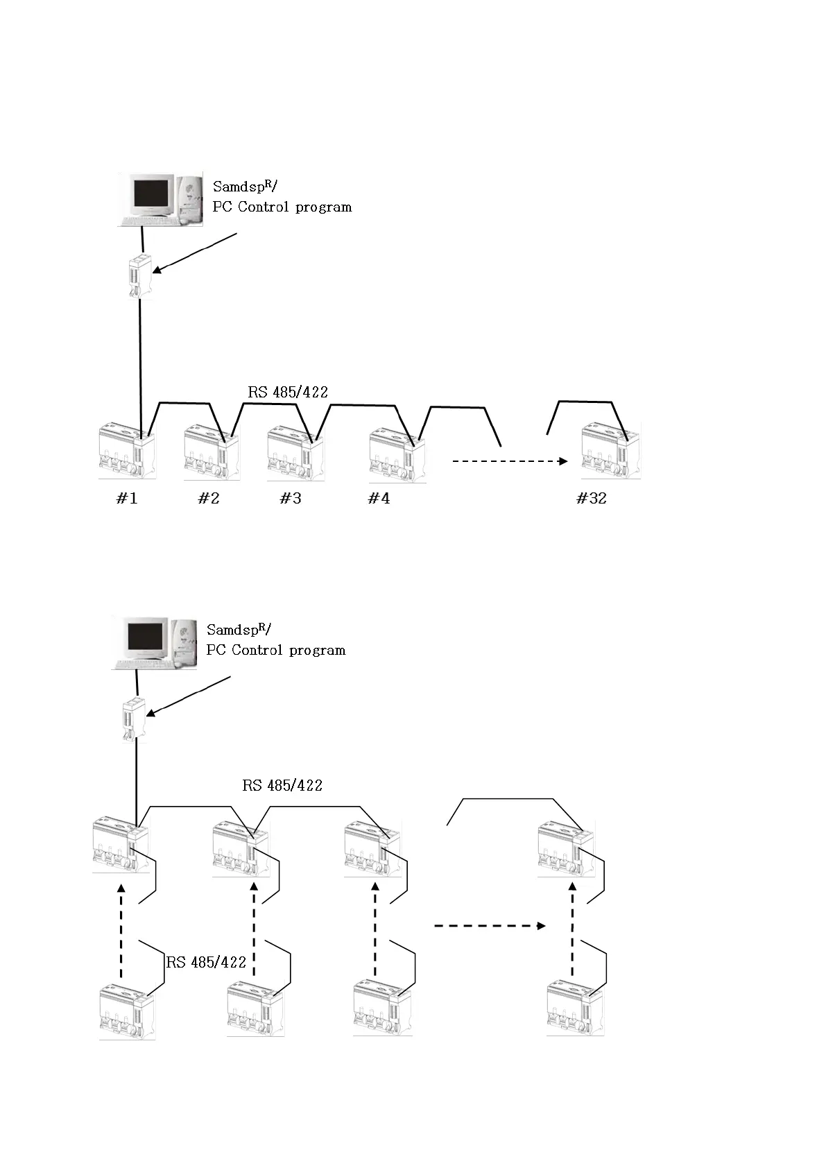
21-2.Center(PC),PLC < > DSP by RS-485/422
a.Serial Line Connection
b.Serial Line-Parallel Connection
DSP-CMB/protocol converter
485/422< > 232,USB or 9 pin D-
sub
T R TR
TR : termination resistance
DSP-CMB/protocol converter
485/422< > 232,USB or 9pin D-sub
#1/TR
#6/TR
#7/TR
#12/TR
#32/TR
#13/TR
#18/TR
#26/TR