EasyManua.ls Logo

Santos 32 - Page 30

Santos 32
39 pages
Print Icon
To Next Page IconTo Next Page
To Next Page IconTo Next Page
To Previous Page IconTo Previous Page
To Previous Page IconTo Previous Page
Loading...
Edition du 04-2005 Page 30
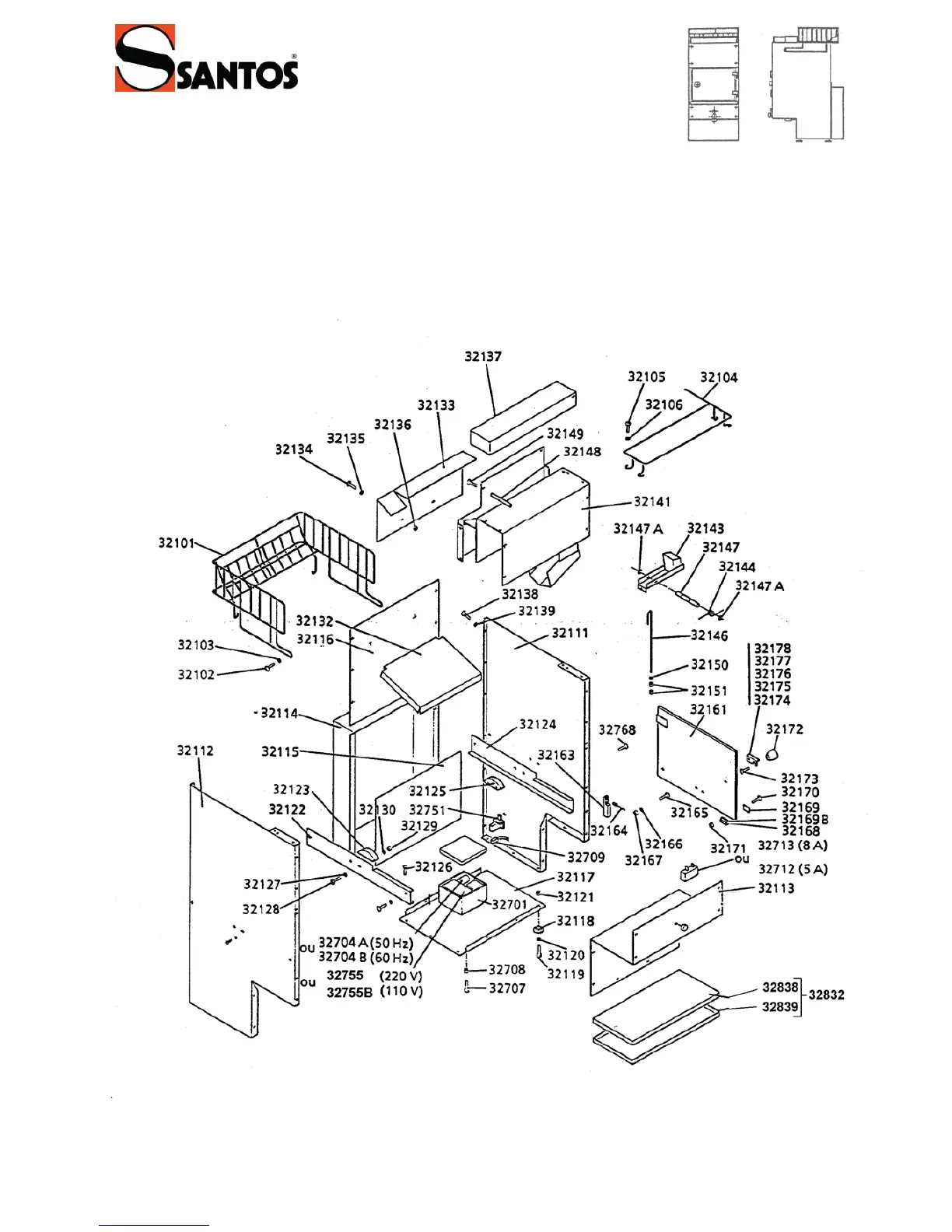
PLATE 1
Steel sheed construction/ (32100) body and electrical controls (32700)

Other manuals for Santos 32

Related product manuals