EasyManua.ls Logo

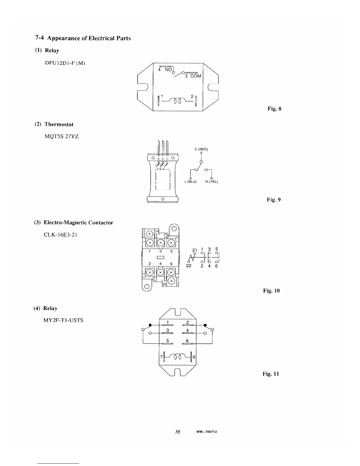
Sanyo C1822 - 7-4 Appearance of Electrical Parts

Sanyo C1822
41 pages
Print Icon
To Next Page IconTo Next Page
To Next Page IconTo Next Page
To Previous Page IconTo Previous Page
To Previous Page IconTo Previous Page
Loading...

Related product manuals