EasyManua.ls Logo

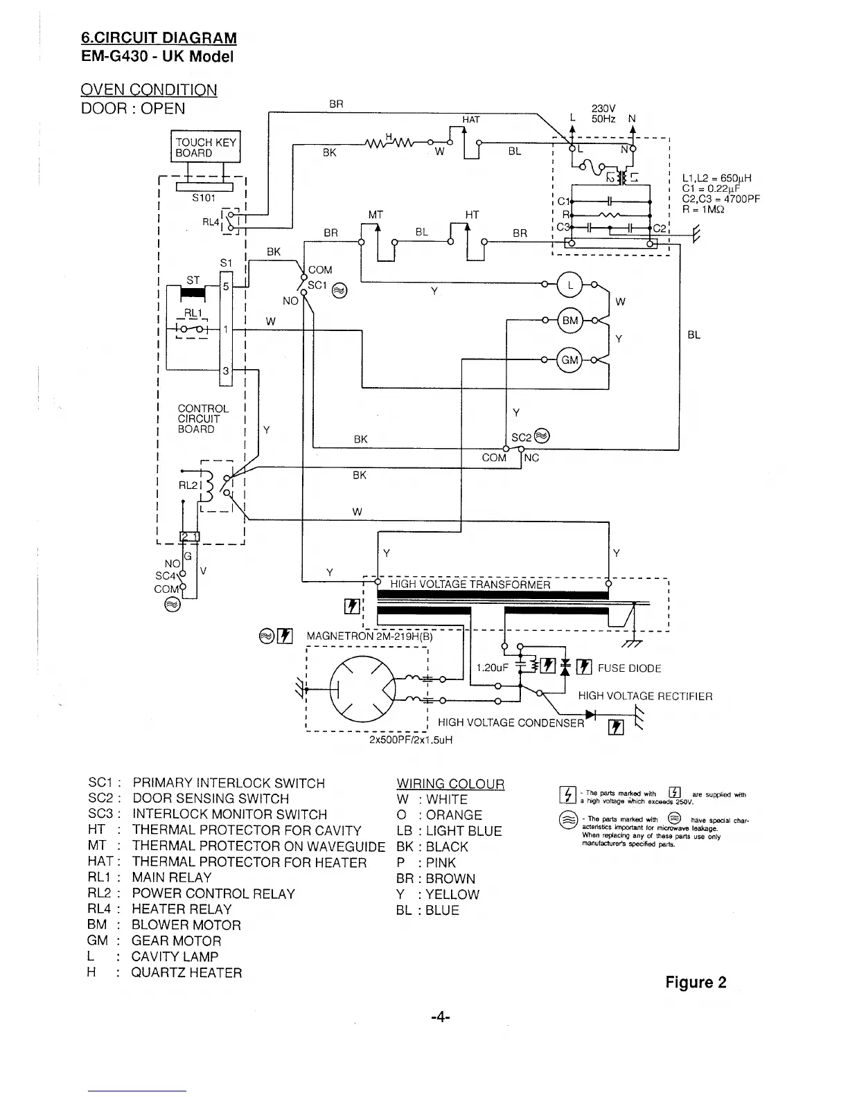
Sanyo EM-G430 - Circuit Diagram; Oven Condition; Wiring Colour

Sanyo EM-G430
24 pages
Print Icon
To Next Page IconTo Next Page
To Next Page IconTo Next Page
To Previous Page IconTo Previous Page
To Previous Page IconTo Previous Page
Loading...

Related product manuals