EasyManua.ls Logo

saro PG 1 - Circuit Diagram

saro PG 1
14 pages
Print Icon
To Next Page IconTo Next Page
To Next Page IconTo Next Page
To Previous Page IconTo Previous Page
To Previous Page IconTo Previous Page
Loading...
11
Stand 04/2018 SR TM
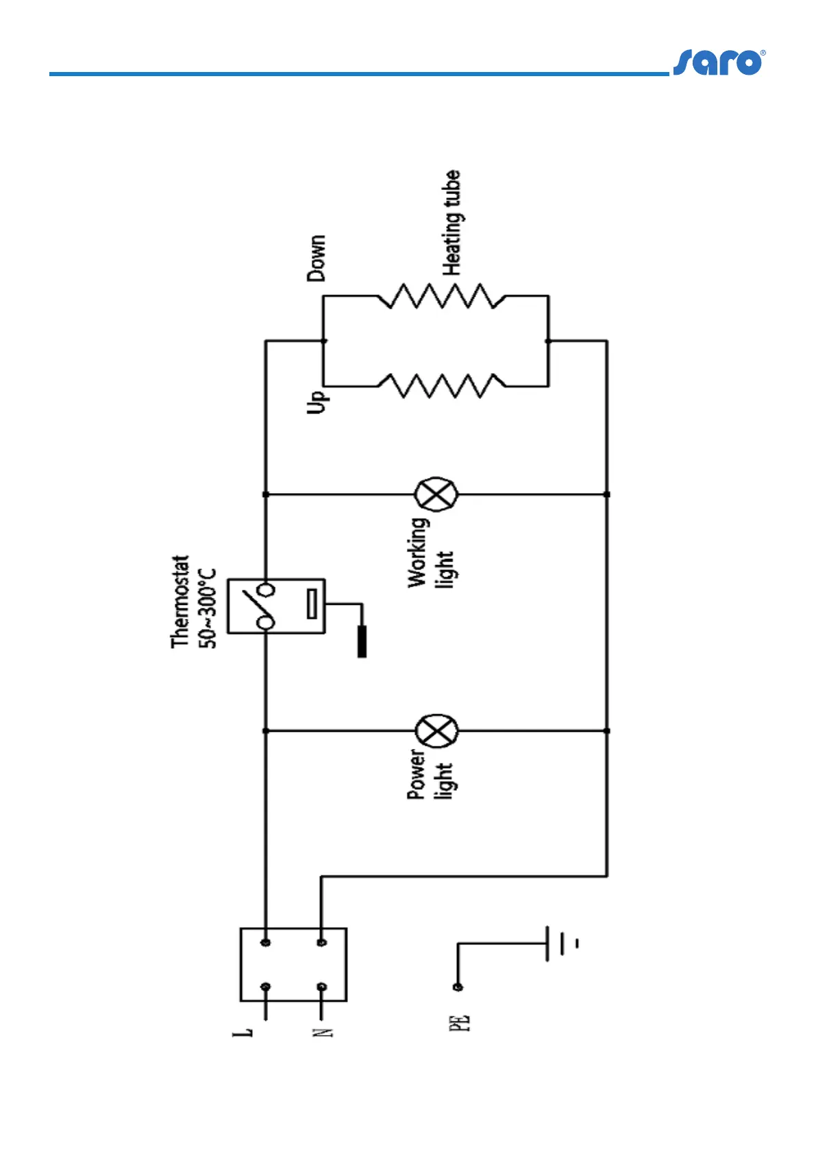
STROMLAUFPLAN / CIRCUIT DIAGRAM