EasyManua.ls Logo

Sartorius ED124S - Cabling Diagram

Sartorius ED124S
62 pages
Print Icon
To Next Page IconTo Next Page
To Next Page IconTo Next Page
To Previous Page IconTo Previous Page
To Previous Page IconTo Previous Page
Loading...
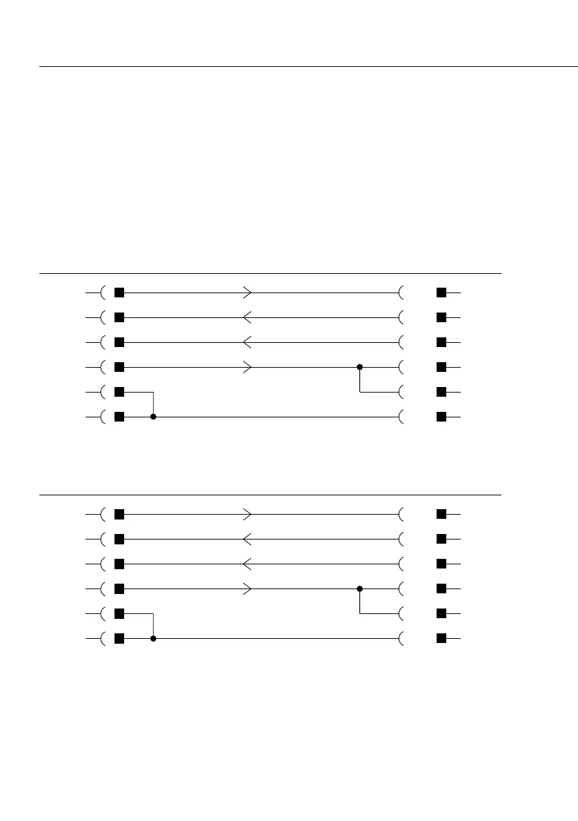
Cabling Diagram
For connecting a computer or other peripheral device to the balance/scale using the
RS-232C/V24 protocol and cable lengths of up to 15 m (approx. 50 ft).
Important: do not connect any other pins to the cable connector of the balance/scale.
Cable type: AWG 24 specification
50
B
alance/scale Computer,
25-pin 25-contact
male connector female connector
TxD 2 3
R
xD 3 2
CTS 5 20
D
TR 20 5
GND 4/7 6
GND 14 7
B
alance/scale Computer,
25-pin 9-contact
male connector female connector
TxD 2 2
R
xD 3 3
CTS 5 4
D
TR 20 8
GND 4/7 6
GND 14 5

Related product manuals