EasyManua.ls Logo

Sauder 410794 - Page 28

Sauder 410794
40 pages
Print Icon
To Next Page IconTo Next Page
To Next Page IconTo Next Page
To Previous Page IconTo Previous Page
To Previous Page IconTo Previous Page
Loading...
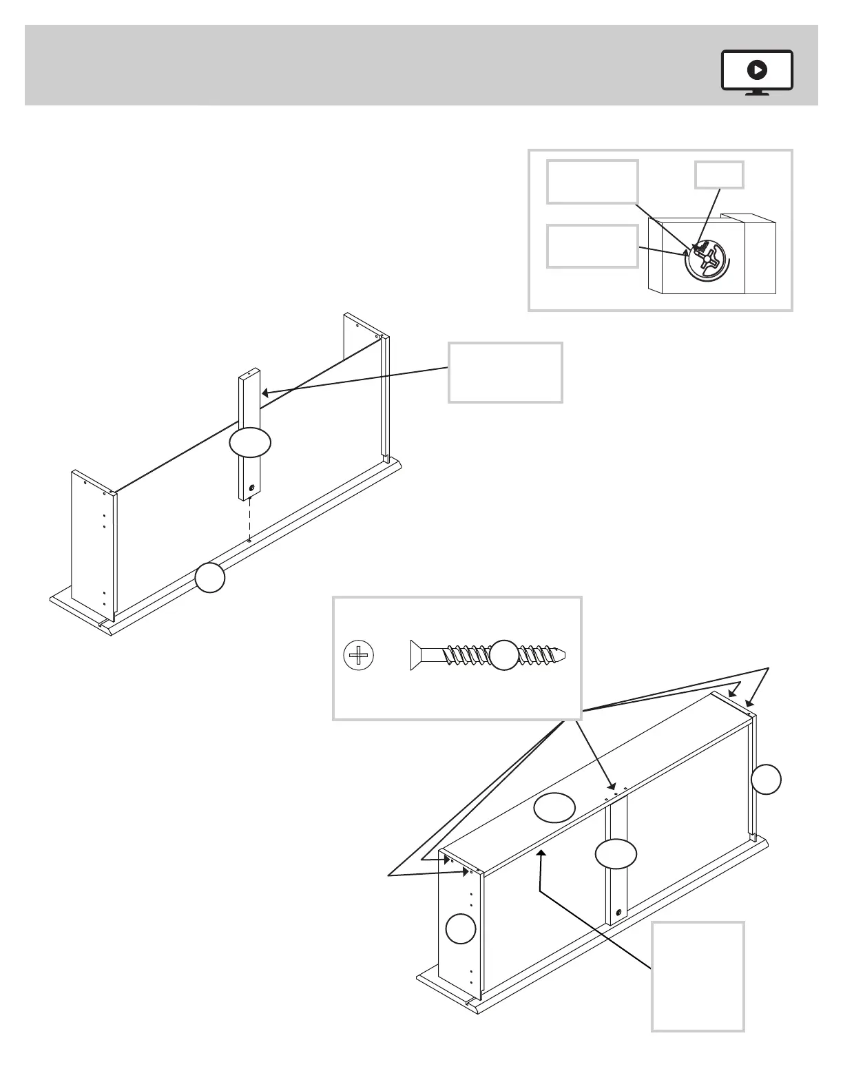
Step 24
410794 www.sauder.com/servicePage 28
å
Fasten the DRAWER BRACE (M67) to the RIGHT DRAWER
FRONT (T). Tighten one HIDDEN CAM.
å
Fasten the DRAWER BACK (D476) to the DRAWER SIDES (D44
and D45) and DRAWER BRACE (M67). Use fi ve BLACK 1-9/16"
FLAT HEAD SCREWS (30S).
å
Repeat this step for the other drawer.
T
Arrow
Minimum
190 degrees
Maximum
210 degrees
Be sure the
DRAWER
BOTTOM
inserts into
the DRAWER
BACK groove.
D44
D45
D476
M67
M67
Start each screw a few turns before
completely tightening any of them.
BLACK 1-9/16" FLAT HEAD SCREW
(10 used in this step)
30S
Hidden part using
recycled material.
Color may vary.

Related product manuals