EasyManua.ls Logo

Schweitzer Engineering Laboratories SEL-351S - Other Operator Control Pushbutton Outputs Operate Similarly to GROUND ENABLED; LOCK Operator Control Pushbutton Output

Schweitzer Engineering Laboratories SEL-351S
636 pages
Print Icon
To Next Page IconTo Next Page
To Next Page IconTo Next Page
To Previous Page IconTo Previous Page
To Previous Page IconTo Previous Page
Loading...
Date Code 20010112 Front-Panel Interface 11-21
SEL-351S Instruction Manual
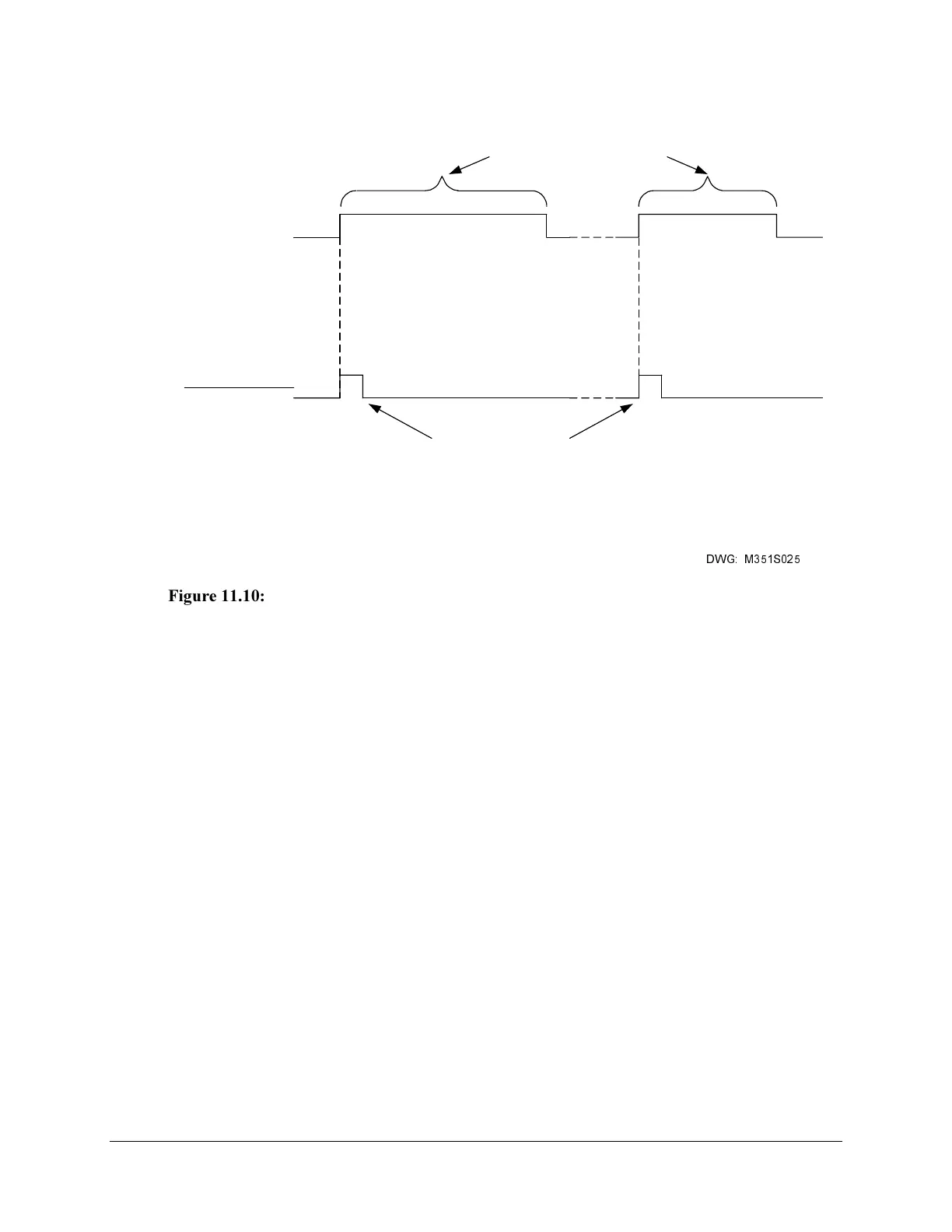
&RUUHVSRQGLQJ
5HOD\:RUG%LW
2XWSXW
3%
*5281'(1$%/('
RSHUDWRUFRQWURO
SXVKEXWWRQ
3UHVVHGPRPHQWDULO\IRU
UDQGRPOHQJWKVRIWLPH
)LJXUHVDQGOLVWRWKHURSHUDWRUFRQWUROSXVKEXWWRQVWKDWRSHUDWHVLPLODUO\WRWKH
DERYHGHWDLOHG*5281'(1$%/('RSHUDWRUFRQWUROSXVKEXWWRQDQGFRUUHVSRQGLQJ5HOD\
:RUGELW3%
3XOVHVWRORJLFDO
IRURQHSURFHVVLQJ
LQWHUYDOF\FOH
':*06
)LJXUH*5281'(1$%/('2SHUDWRU&RQWURO3XVKEXWWRQ2XWSXW
Other Operator Control Pushbutton Outputs Operate Similarly to GROUND ENABLED
7KHIROORZLQJRSHUDWRUFRQWUROSXVKEXWWRQRXWSXWVRSHUDWHVLPLODUO\WRWKH*5281'(1$%/('
RSHUDWRUFRQWUROSXVKEXWWRQRXWSXWGHVFULEHGLQ)LJXUHFRUUHVSRQGLQJ5HOD\:RUGELWV
3%3%3%3%3%DQG3%DVVHUWWRORJLFDOLPPHGLDWHO\IRURQHSURFHVVLQJLQWHUYDO
ZKHQWKHRSHUDWRUFRQWUROSXVKEXWWRQLVSUHVVHGPRPHQWDULO\
5(&/26((1$%/('3% +27/,1(7$*3%
5(027((1$%/('3% $8;3%
$/7(51$7(6(77,1*63% $8;3%
LOCK Operator Control Pushbutton Output
)LJXUHGHVFULEHVWKHRXWSXWRIWKHXQLTXH/2&.RSHUDWRUFRQWUROSXVKEXWWRQ1RWHWKH
QHHGWRSUHVVWKH/2&.RSHUDWRUFRQWUROSXVKEXWWRQFRQWLQXDOO\IRUWKUHHVHFRQGVXQWLO5HOD\
:RUGELW3%DVVHUWVWRORJLFDOIRURQHSURFHVVLQJLQWHUYDO
7KHFRUUHVSRQGLQJ/2&./('FRQWUROOHGE\6(/
2*,&VHWWLQJ/('LVLQGHSHQGHQWRIWKH
/2&.RSHUDWRUFRQWUROSXVKEXWWRQXQOHVVWKH/2&.RSHUDWRUFRQWUROSXVKEXWWRQLVSUHVVHGIRU
WKHWKUHHVHFRQGVDQGWKH/('IODVKHVDVGHVFULEHGLQ)LJXUH

Table of Contents

Related product manuals