EasyManua.ls Logo

Schwinn MPower - System Errors and Sensors; Console Error Messages; Wireless Bike Sensor Data; Bike Speed Sensor Description

Schwinn MPower
32 pages
Print Icon
To Next Page IconTo Next Page
To Next Page IconTo Next Page
To Previous Page IconTo Previous Page
To Previous Page IconTo Previous Page
Loading...
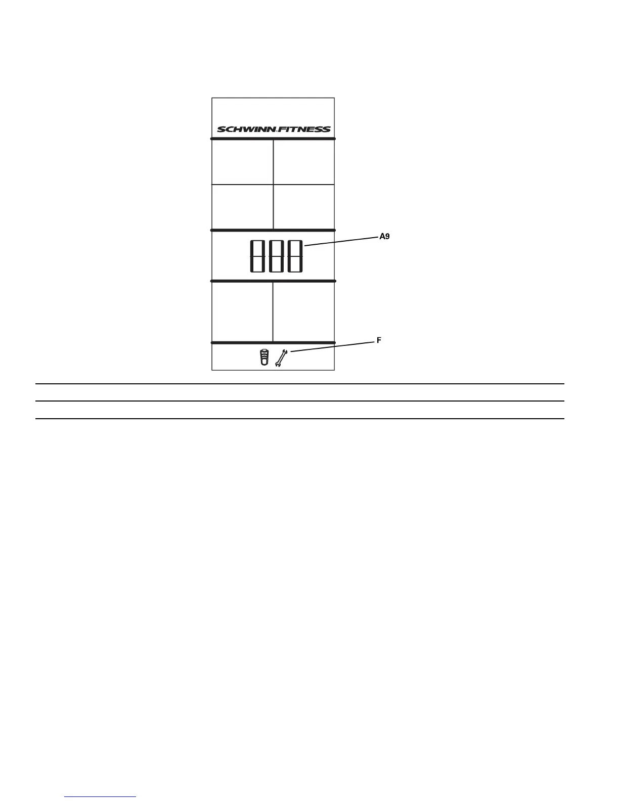
A9ErrorMessage
F
MaintenanceAlerticonflashes
RefertotheTroubleshootingsectionofthismanual.TogototheServiceModemenu,pushtheAVG/ENDandSTAGEbuttons
andholdfor5seconds.TheLCDdisplayisdifferentforErrorsthatoccurduringanon-ServiceMode(ex:WorkoutMode)and
ErrorsduringServiceMode.
WirelessBikeSensorData
Theconsolegetsbikeoperationdatafromthebike’ssensorsandusesthedatatocalculateworkoutresults.Theconsoleand
wirelesssensorscantransmitdataaftertheDevicePairingprocesssetsuptheirwirelessconnection.TheConfiguration/Service
ModesectionofthismanualgivestheDevicePairingprocedure.ItiseasiesttosetupDevicePairingbeforeyouinitiallyinstall
theconsoleandsensorsonthebike.
BikeSpeedSensor
TheSchwinn®MPower™Consolecomeswithaspeedsensorforthebike.Thespeedsensortransmitsdatafromtheflywheel
totheconsoleduringtheworkout.
RefertotheSchwinn®MPower™ConsoleInstallationGuidefortheproceduretoinstallthespeedsensorontheSchwinn
A.C.™bike.
PowerSensor
TheMPower™PowersensorisanoptionalupgradeforaSchwinnA.C.™bikewithaSchwinn®MPower™Console.Thepower
sensortransmitsdatafromtheBrakeresistancemechanismtotheconsoleduringtheworkout.
RefertotheSchwinn®MPower™PowerUpgradeInstallationGuidefortheproceduretoinstallthepowersensoronthe
SchwinnA.C.™bike.
8 8
8
Errors
Errormessagestellyouwhenthereisaprobleminthebike’soperation:

Other manuals for Schwinn MPower

Related product manuals