EasyManua.ls Logo

SCM SC 10 - Page 24

SCM SC 10
34 pages
Print Icon
To Next Page IconTo Next Page
To Next Page IconTo Next Page
To Previous Page IconTo Previous Page
To Previous Page IconTo Previous Page
Loading...
23
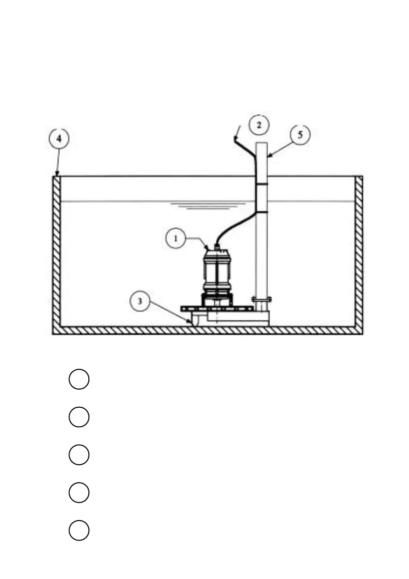
Installation scheme
Picture 1
Eyebolt of mount of the lifting chain to be fixed to the edges of the basin
to make easy the following extraction.
Hook the electric cable, without stretching it too much,
to the suction pipe.
Simply lay the aerator on the bottom of the basin.
Installation basin
Air inspiration pipe.
1
2
3
5
4