EasyManua.ls Logo

Seiko V157A - Parts List; General Parts Identification

Seiko V157A
18 pages
Print Icon
To Next Page IconTo Next Page
To Next Page IconTo Next Page
To Previous Page IconTo Previous Page
To Previous Page IconTo Previous Page
Loading...
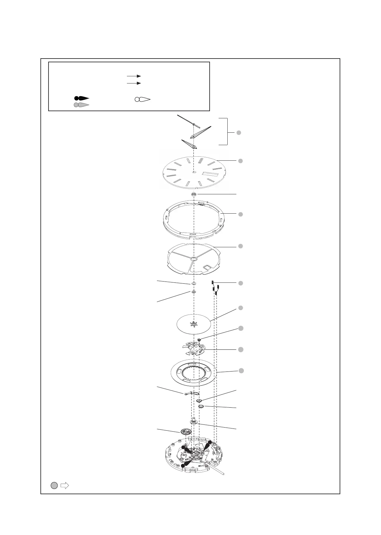
HOUR, MINUTE AND SECOND HANDS
DIAL
DIAL WASHER SPACER
0493 500
HOLDING RING FOR DIAL
2
3
1
SOLAR CELL
4025 581(V157A)
4025 580(V158A)
CONTACT SPRING FOR SOLAR CELL
4246524
DIAL WASHER
0491 735
SNAP FOR DAY STAR WITH
DIAL DISK
0963 230
DAY STAR WITH DIAL DISK
(ONLY FOR V158A)
INTERMEDIATE WHEEL FOR DAY
SETTING (ONLY FOR V158A)
0989 890
DATE JUMPER
0810 890
DATE SETTING WHEEL
0737 891
SECOND INTERMEDIATE
WHEEL FOR DATE SETTING
0962 891
HOUR WHEEL
0271 639
DATE DRIVING WHEEL
0802 890
4
5
6
9
7
8
DATE DIAL GUARD
0808 890
qa
DATE DIAL
qs
qf
qg
qh
qd
qj
PARTS LIST
Cal. V157A/V158A
3/18
Please see the remarks on the following pages.
Order of disassembly:
1
ra
Order of assembly:
ra
1
Lubricating:
Types of oil Oil quantity
AO-3 Normal quantity
q;
AO-2

Related product manuals