EasyManua.ls Logo

Sena PS410 - Page 94

Sena PS410
110 pages
Print Icon
To Next Page IconTo Next Page
To Next Page IconTo Next Page
To Previous Page IconTo Previous Page
To Previous Page IconTo Previous Page
Loading...
94
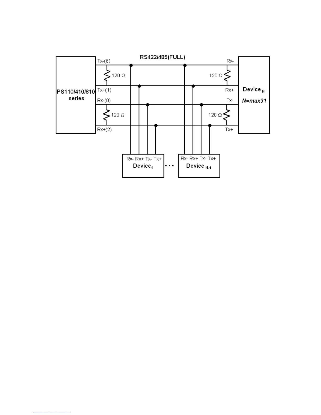
* Termination Resistor at Tx side can be omitted if the signal status is good.
Figure A-8 RS422 wiring diagram

Table of Contents

Related product manuals