EasyManua.ls Logo

SGS 58CC - Guide Bar Wear Inspection and Reversal

SGS 58CC
46 pages
Print Icon
To Next Page IconTo Next Page
To Next Page IconTo Next Page
To Previous Page IconTo Previous Page
To Previous Page IconTo Previous Page
Loading...
PAGE 42
WWW.SGS-ENGINEERING.COM
CALL FOR ASSISTANCE: 01332 576 850
11. MAINTENANCE OF SAW CHAIN AND GUIDE BAR
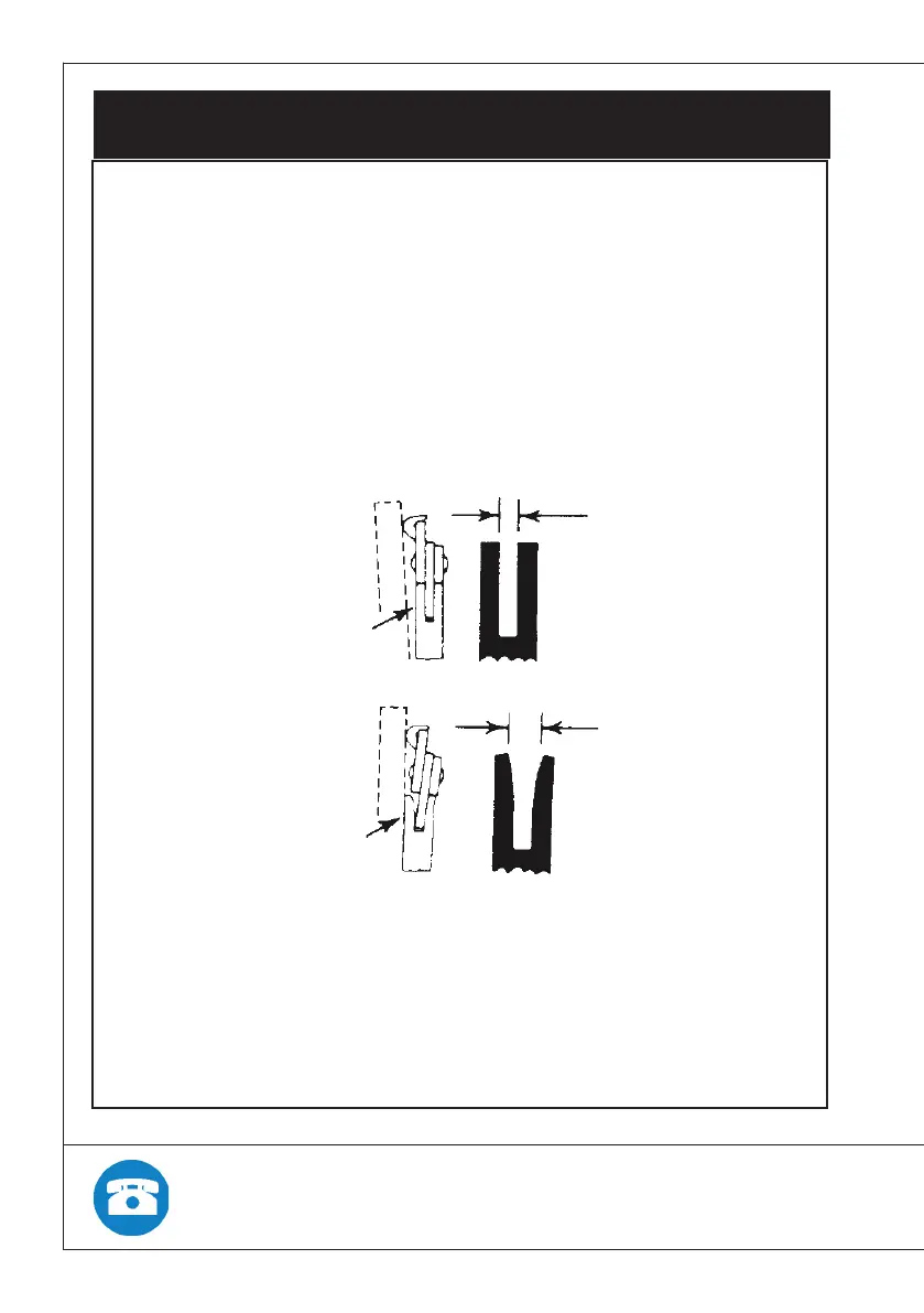
Guide Bar
Reverse the bar occasionally to prevent partial wear.
The bar rail should always be square. Check for wear of
the bar rail. Apply a ruler to the bar and the outside of
a cutter. If a gap is observed between them, the rail is
normal. Otherwise, the bar rail is worn. Such a bar needs
to be corrected or replaced.
Ruler
Gap
No gap
Chain tilts

Related product manuals