EasyManua.ls Logo

SHARKS FOLD 1 - Page 10

SHARKS FOLD 1
Print Icon
To Next Page IconTo Next Page
To Next Page IconTo Next Page
To Previous Page IconTo Previous Page
To Previous Page IconTo Previous Page
Loading...
www.sharks-shop.cz Stránka
10
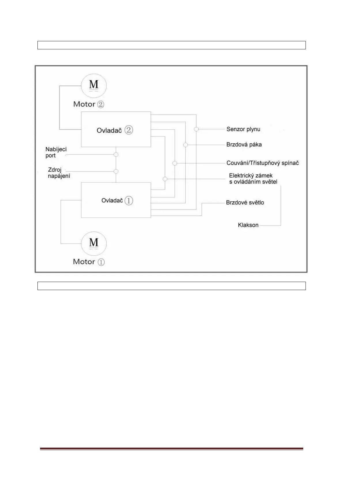
ELEKTRICKÉ SCHÉMA
ÚDRŽBA
- plastové části vozítka můžete otřít vlhkým hadříkem (pouze čistá voda nebo jemný čisticí prostředek)
a poté otřete suchým hadříkem. Nikdy nepoužívejte k čistění žádné abrazivní čisticí prostředky.
Poznámka: K čistění nepoužívejte alkohol, benzín, petrolej ani jiná korozivní těkavá rozpouštědla.
Mohlo by dojít k poškození vzhledu a struktury vozítka.
- K čištění nepoužívejte vysokotlakou vodní pistoli, aby se zabránilo vniknutí vody do vnitřních
elektronických součástek a kabelů. Mohlo by dojít k poškození vozítka.
- Pokud vozítko nepoužíváte, uložte jej ve vnitřním prostředí na suchém a chladném místě, mimo
dosah nepovolaných osob a domácích mazlíčků. Vyhněte se dlouhodobému skladování venku.
Sluneční záření nebo naopak chladné počasí mohou vozítko poškodit (např.: poškození vzhledu,
pneumatik, baterie, snížení životnosti baterie aj.)
- Nikdy vozítko sami neopravujte ani nerozebírejte. Je zakázáno používat jiné než originální díly.
Pokud není vozítko kompletní nebo poškozené, nepoužívejte jej a kontaktujte autorizovaný servis
nebo svého prodejce,. Neodborný zásah do výrobku nebo jeho součástí může způsobit jeho
poškození a neplatnost záruky.
Údržba baterie
- Baterii neumisťujte na místo, kde teplota přesahuje +40°C nebo naopak klesne pod -20°C (např.:
neumisťujte ji na místo, kde bude vystavena slunečnímu ření)
- Nevhazujte baterii do ohně a udržujte ji mimo hořlavé látky. Může dojít k poškození baterie, přehřátí
a dokonce k požáru nebo výbuchu.
- Vyvarujte se úplnému vybití baterie. V případě nepoužívání baterii pravidelně dobíjejte. Pokud baterii
používáte v teplotě kolem +20°C – baterie dosahuje nejvyššího výkonu. Při použití v okolní teplotě pod