EasyManua.ls Logo

SHARKS FOLD 1 - Page 22

SHARKS FOLD 1
Print Icon
To Next Page IconTo Next Page
To Next Page IconTo Next Page
To Previous Page IconTo Previous Page
To Previous Page IconTo Previous Page
Loading...
www.sharks-shop.cz Stránka
22
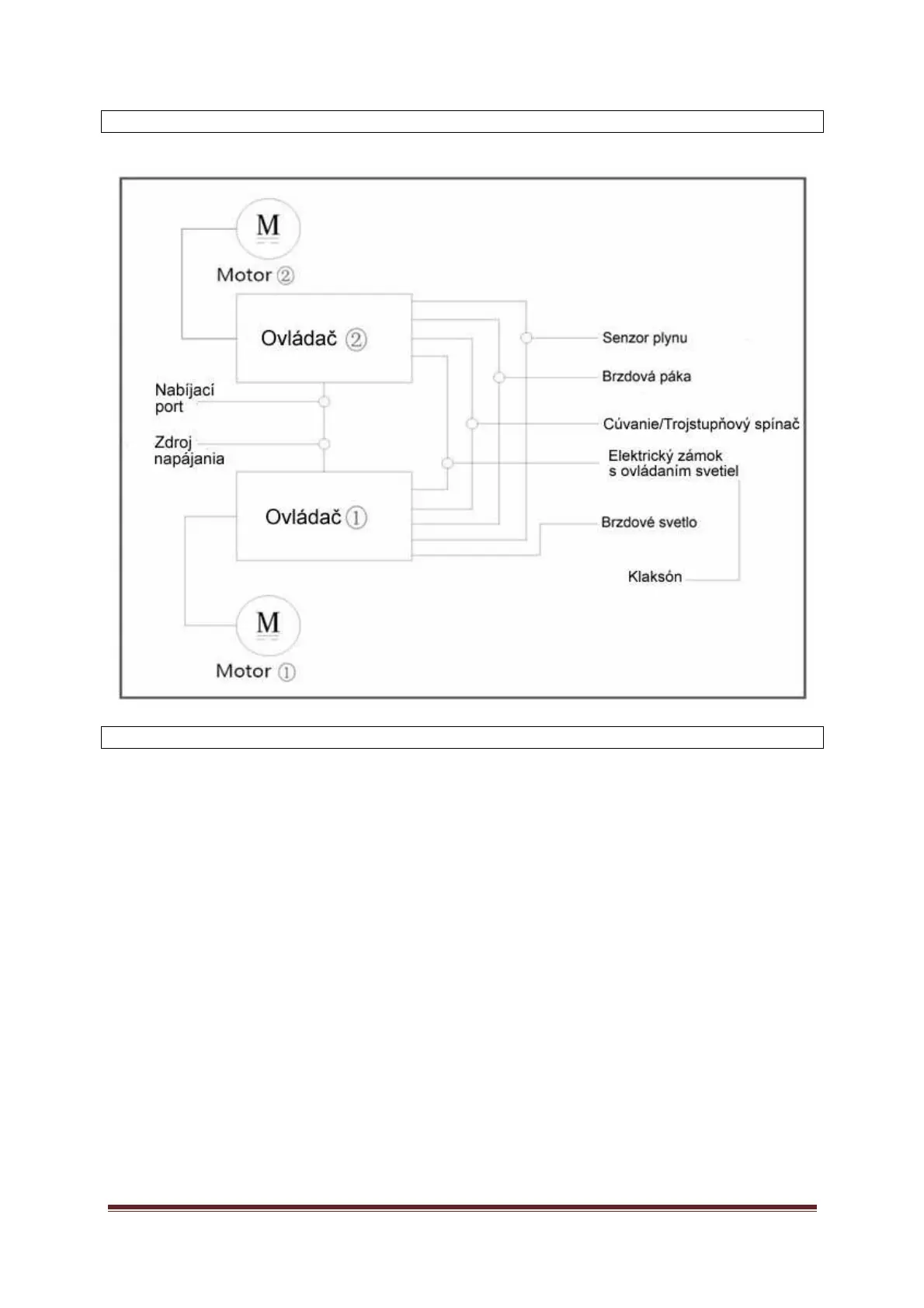
ELEKTRICKÉ SCHÉMA
ÚDRŽBA
- plastové časti vozítka môžete utrieť vlhkou handričkou (iba čistá voda alebo jemný čistiaci
prostriedok) a potom utrite suchou handričkou. Nikdy nepoužívajte na čistenie žiadne abrazívne
čistiace prostriedky.
Poznámka: Na čistenie nepoužívajte alkohol, benzín, petrolej ani iné korozívne prchavé rozpúšťadlá.
Mohlo by dôjsť k poškodeniu vzhľadu a štruktúry vozítka.
- Na čistenie nepoužívajte vysokotlakovú vodnú pištoľ, aby sa zabránilo vniknutiu vody do vnútorných
elektronických súčiastok a káblov. Mohlo by dôjsť k poškodeniu vozítka.
- Ak vozítko nepoužívate, uložte ho vo vnútornom prostredí na suchom a chladnom mieste, mimo
dosahu nepovolaných osôb a domácich maznáčikov. Vyhnite sa dlhodobému skladovanie vonku.
Slnečné žiarenie alebo naopak chladné počasie môžu vozítko poškodiť (napr .: poškodenie vzhľadu,
pneumatík, batérie, zníženiu životnosti batérie a i.)
- Nikdy vozítko sami neopravujte ani nerozoberajte. Je zakázané používať iné ako originálne diely.
Pokiaľ nie je vozítko kompletné alebo poškodené, nepoužívajte ho a kontaktujte autorizovaný servis
alebo svojho predajcu ,. Neodborný zásah do výrobku alebo jeho súčastí môže spôsobiť jeho
poškodenie a neplatnosť záruky.
Údržba batérie
- Batériu neumiestňujte na miesto, kde teplota presahuje + 40 ° C alebo naopak klesne pod -20 ° C
(napr .: neumiestňujte ju na miesto, kde bude vystavená slnečnému žiareniu)
- Nevhadzujte batériu do ohňa a udržujte ju mimo horľavé látky. Môže dôjsť k poškodeniu batérie,
prehriatiu a dokonca k požiaru alebo výbuchu.
- Vyvarujte sa úplnému vybitiu batérie. V prípade nepoužívania batériu pravidelne nabíjajte. Ak batériu
používate v teplote okolo + 20 ° C - batérie dosahuje najvyšší výkon. Pri použití v okolitej teplote pod 0
° C sa výkon a výdrž batérie znižuje. Pri použití do -20 ° C môže byť rozsah dojazdu až polovičnú aj