EasyManua.ls Logo

Sharp EL-W531X - 2-Variable Statistics Introduction

Sharp EL-W531X
75 pages
Print Icon
To Next Page IconTo Next Page
To Next Page IconTo Next Page
To Previous Page IconTo Previous Page
To Previous Page IconTo Previous Page
Loading...
71
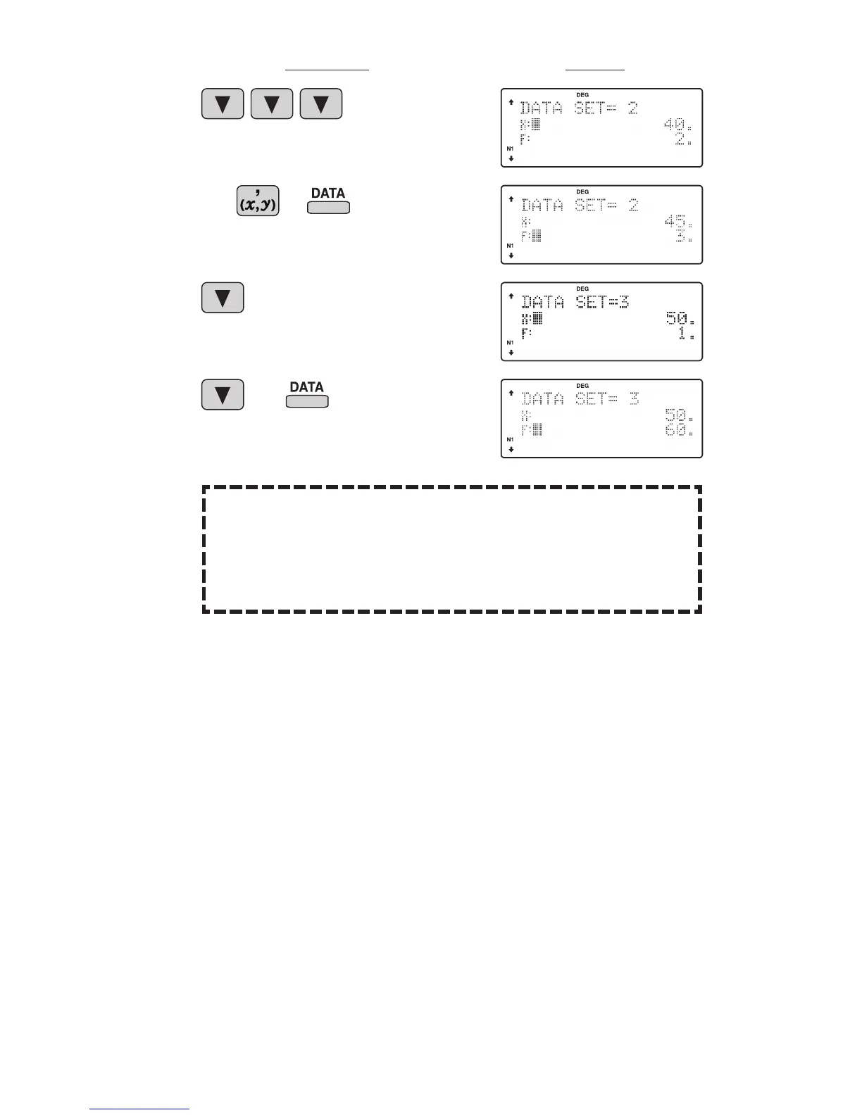
Operation Display
45 3
60
APPLICATIONS:
Single-variable statistical calculations are used in a broad range of
fields, including engineering, business, and economics. They are
most often applied to analysis in atmospheric observations and
physics experiments, as well as for quality control in factories.

Related product manuals