EasyManua.ls Logo

Sharp R-4A52 - Page 34

Sharp R-4A52
47 pages
Print Icon
To Next Page IconTo Next Page
To Next Page IconTo Next Page
To Previous Page IconTo Previous Page
To Previous Page IconTo Previous Page
Loading...
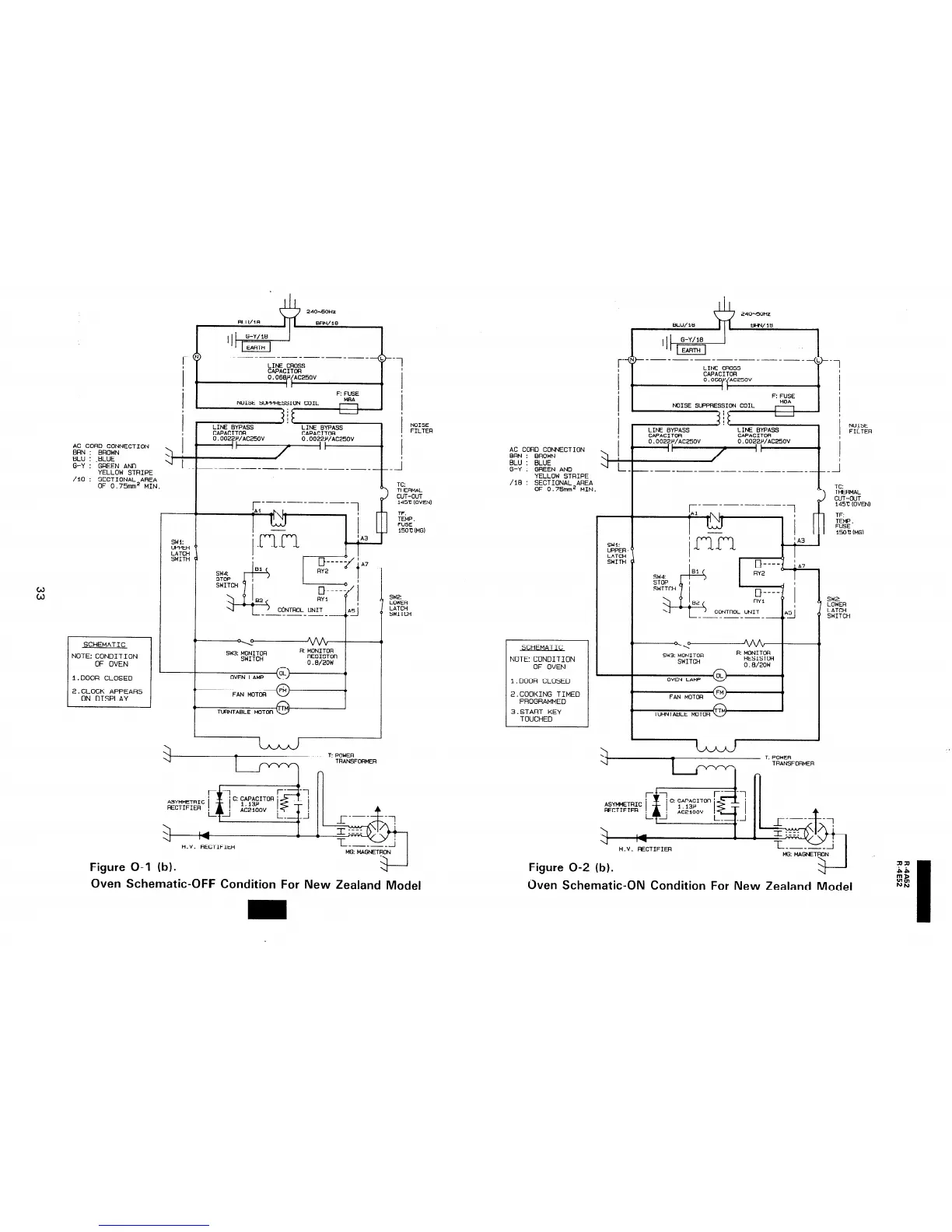
240-6CiHz
BLU/lB m/10
pg-,
__~----_-_--_ L
LINE cR0ss
CAPACITOR
-( -7
(I
O.O68/‘(AC25OV
I I
0
F: FUSE
1
NOISE SVPPRESSION COIL
MBA
4
J;L
-
. !
1 1 NOISE SUPPRES;;“” COIL FE ] /
1
A !
LINE BYPASS
NOISE
FILTER
AC CORD CONNECTION
BRN :
BROWN
BLU : BLUE
G-Y : GREEN AND
AC CORD CONNECTION
BRN : BROWN
BLU : -BLUE
G-Y :
GREEN AND
YELLOW STRIPE
/lB : SECTIONAL AREA
OF 0.75mm2 MIN.
----------------+--I
YELLOW STRIPE
/lB : SECTIONAL AREA
OF 0.75mm2 MIN.
3
TC:
THERMAL
CUT-OUT
143 (OVEN)
r-----
-----
1
7-!&--1 :j_ ql iikMGj
I.._.
UPPER
LATCH
SWITH
SWl:
UPPER
LATCH
SWITH
SW2
LOWER
LATCH
SWITCH
SW3 MONITOR
R: MONITOR
SWITCH
RESISTOR
0. w2ow
SCHEMATIC
NOTE: CONDITION
OF OVEN
l.OOOR CLOSED
SW3 MONITOR
R: MONITOR
SWITCH
RESISTOA
0. w2ow
l.DOOR CLOSED
2.CLOCK APPEARS
ON DISPLAY
2.COOKING TIMED
PROGRAMMED
3.START KEY
TOUCHED
I
I I
H.V. RECTIFIER
H.V. RECTIFIER
Figure O-2 (
b).
L------l
ffi: MAGbETRON
,
Figure O-l (b).
Oven Schematic-OFF Condition For New Zealand Model
Oven Schematic-ON Condition For New Zealand Model

Related product manuals