EasyManua.ls Logo

Sharp R-953(SL)M - Page 35

Sharp R-953(SL)M
52 pages
Print Icon
To Next Page IconTo Next Page
To Next Page IconTo Next Page
To Previous Page IconTo Previous Page
To Previous Page IconTo Previous Page
Loading...
R-953/963M - 33
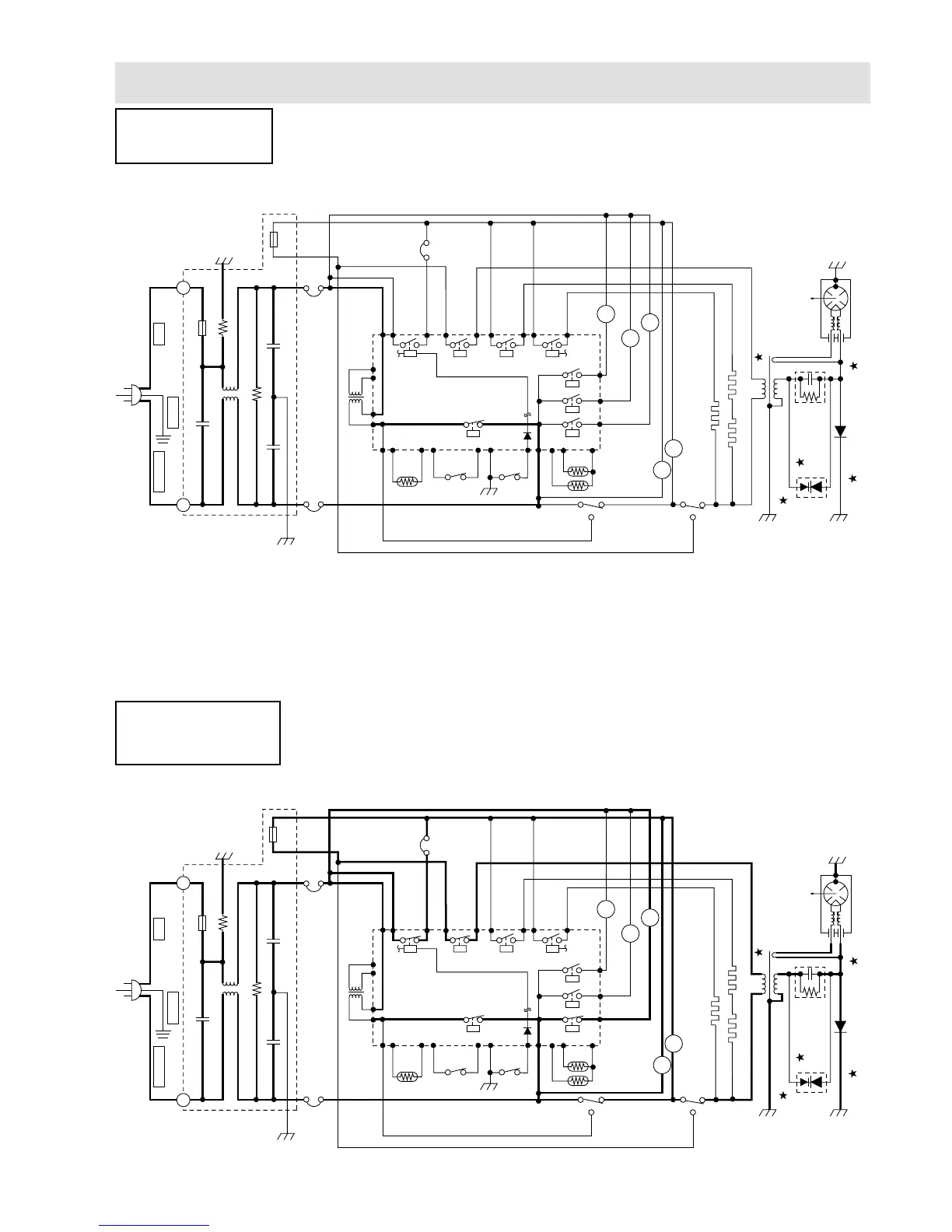
Figure O-2 Oven Schematic-Microwave cooking Condition
SCHEMATIC
NOTE: CONDITION OF OVEN
1. DOOR CLOSED.
2. COOKING TIME ENTERED.
3. STRAT KEY TOUCHED.
Figure O-1(c) Oven Schematic-OFF Condition after the oven door is closed.
SCHEMATIC
NOTE: CONDITION OF OVEN
1. DOOR CLOSED.
2. " . O" APPEARS ON DISPLAY.
OL
OVEN LAMP
CONVECTION MOTOR
DAMPER MOTOR
FAN MOTOR
TURNTABLE MOTOR
GRILL HEATING ELEMENTS
CONVECTION HEATING ELEMENT
H.V. RECTIFIER
MAGNETRON
HIGH VOLTAGE
TRANSFORMER
T/C TRANSFORMER
CAPACITOR
1.16 F
AC2100V
CONTROL
UNIT
A7
D3D1
RY5
COM.
COM.
COM.
N.O.
N.O.
COM.
N.O.
N.O.
A3
E5 E7
E3 E1
A1
B2
B3
B4
C3
C1
B1
A5
STOP
SWITCH
DAMPER
SWITCH
MONITORED LATCH SWITCH
THERMISTOR
MAG.
THERMAL
CUT-OUT
CONV.
THERMAL
CUT-OUT
MONITOR
SWITCH
4700p/ 250V
4700p/ 250V
10M/ 0.5W
NOISE SUPPRESSION COIL
680 k/ 0.5W
0.22 /250V
FUSE 20A
FUSE
F8A
NOISE
FILTER
LN
230 - 240V ~ 50Hz
BRN/15BLU/15
G-Y/15
EARTH
LIVENEUTRAL
N.O.
N.C.
N.C.
N.O .
COM.
COM.
ASYMMETRIC
RECTIFIER
RY6
RY7
RY8
RY1 RY2 RY3
RY4
FM
F2
F1
F3
TTM
CM
DM
GRILL
THERMAL
CUT-OUT
AH SENSOR
(Only for R-963M)
OL
OVEN LAMP
CONVECTION MOTOR
DAMPER MOTOR
FAN MOTOR
TURNTABLE MOTOR
GRILL HEATING ELEMENTS
CONVECTION HEATING ELEMENT
H.V. RECTIFIER
MAGNETRON
HIGH VOLTAGE
TRANSFORMER
T/C TRANSFORMER
CAPACITOR
1.16 F
AC2100V
CONTROL
UNIT
A7
D3D1
RY5
COM.
COM.
COM.
N.O.
N.O.
COM.
N.O.
N.O.
A3
E5 E7
E3 E1
A1
B2
B3
B4
C3
C1
B1
A5
STOP
SWITCH
DAMPER
SWITCH
MONITORED LATCH SWITCH
THERMISTOR
MAG.
THERMAL
CUT-OUT
CONV.
THERMAL
CUT-OUT
MONITOR
SWITCH
4700p/ 250V
4700p/ 250V
10M/ 0.5W
NOISE SUPPRESSION COIL
680 k/ 0.5W
0.22 /250V
FUSE 20A
FUSE
F8A
NOISE
FILTER
LN
230 - 240V ~ 50Hz
BRN/15BLU/15
G-Y/15
EARTH
LIVENEUTRAL
N.O.
N.C.
N.C.
N.O .
COM.
COM.
ASYMMETRIC
RECTIFIER
RY6
RY7
RY8
RY1 RY2 RY3
RY4
FM
F2
F1
F3
TTM
CM
DM
GRILL
THERMAL
CUT-OUT
AH SENSOR
(Only for R-963M)
SCHEMATIC DIAGRAMS

Related product manuals