EasyManua.ls Logo

Sharp VC-MH80 - Page 45

Sharp VC-MH80
128 pages
Print Icon
To Next Page IconTo Next Page
To Next Page IconTo Next Page
To Previous Page IconTo Previous Page
To Previous Page IconTo Previous Page
Loading...
STOP
+
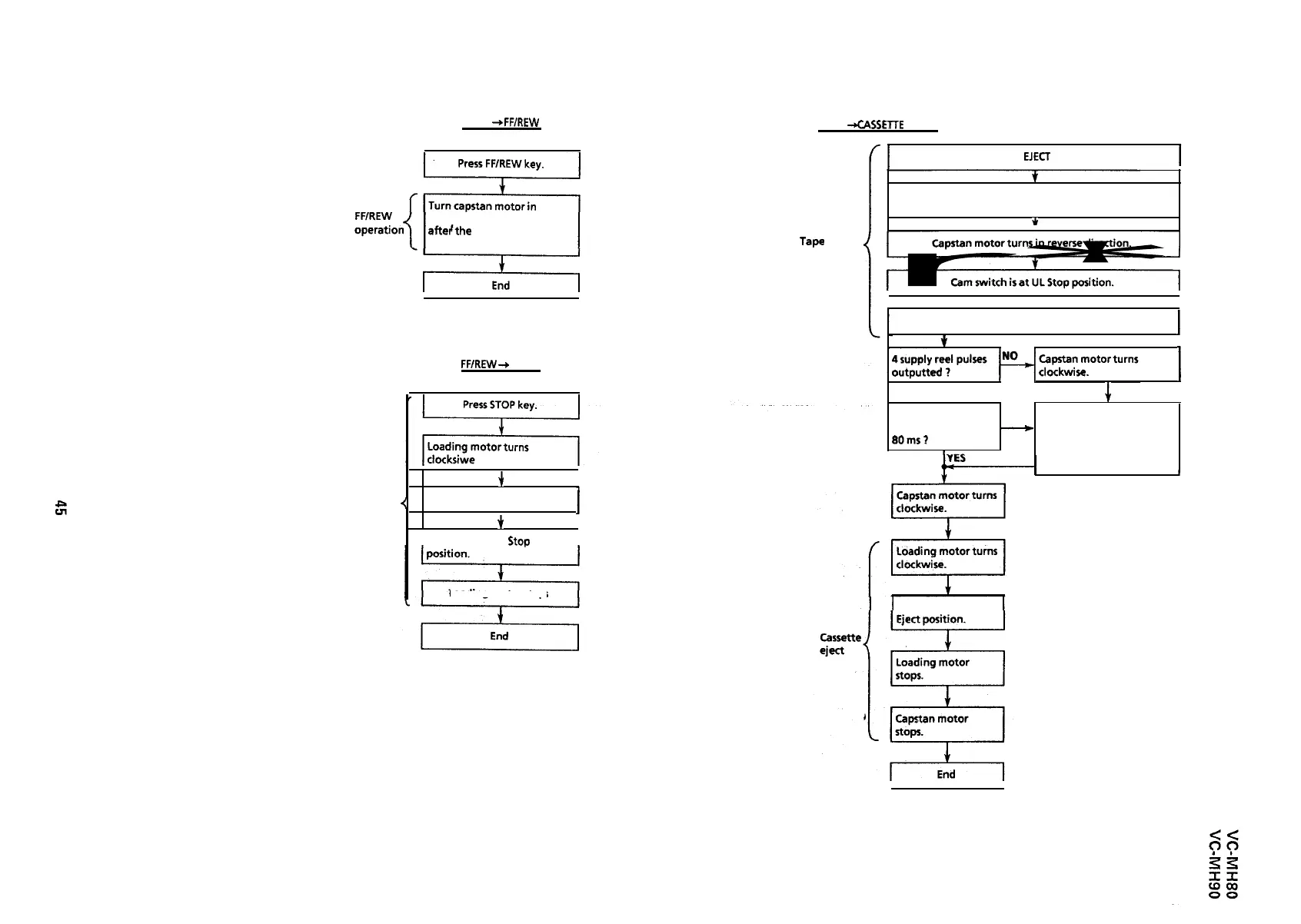
FF/REW
STOP
-KASSEl-TE
EJECT
-i
Brake
function
normal or reverse direction,
aftetthe remaining tape has
Been detected.
FF/REW
+
STOP
Tape
unloading
1
Stop capstan motor.
I
I
Cam switch is at
Stoo
I
Loading motor stops
Press
EJECT
key.
Loading motor turn in reverse direction and master cam
counter clockwise.
1
Capstan motor turns in reverse direction.
Stop loading motor.
I
I
YES
+
No supply reel
pulses outputted for
NO
-
Capstan motor turns
BOms?
counterclockwise in about
2 seconds.
I
Cam switch is at

Related product manuals