EasyManua.ls Logo

Sharp XL-570 - Page 50

Sharp XL-570
56 pages
Print Icon
To Next Page IconTo Next Page
To Next Page IconTo Next Page
To Previous Page IconTo Previous Page
To Previous Page IconTo Previous Page
Loading...
XL-560,570/C
– 50 –
A
B
C
D
E
F
G
H
1
23456
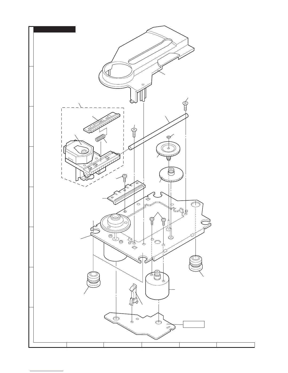
Figure 7 CD MECHANISM EXPLODED VIEW
– 7 –
XL-560,570/C
306-1
701
304
701
302
301
702
303
M802
703x2
305x2
SW801
M801
305
PWB-C
306-2
306-3
306
704
307

Related product manuals