EasyManua.ls Logo

Sherwin-Williams ULTIMATE NOVA 1000 - Page 34

Default Icon
38 pages
Print Icon
To Next Page IconTo Next Page
To Next Page IconTo Next Page
To Previous Page IconTo Previous Page
To Previous Page IconTo Previous Page
Loading...
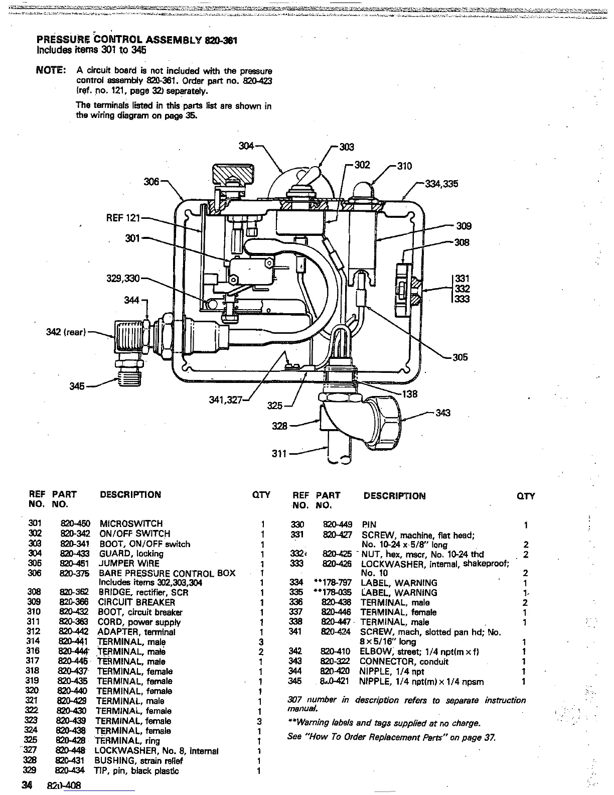
PRESSbRE
CQkMTRQL
ASS€MBLY
-11
Includes
items
301
to
345
MOTE:
A circuit
board
is not induded
with
the
pressure
control assembly
820-361.
Order
part
no.
I@.
no.
121,
page
32)
separately.
the
wiring diagram
on
page
35.
The
terminals
listed
in
this
parts
list
are shown in
REF
PART
DESCRIPTION
NO.
NO.
QT\I
REF
PART
DESCRIPTION
No.
NO.
301
820-450
MICROSWITCH
303
820341
BOOT, ON/OFF switch
302
820342
ONlOFF SWITCH
304
820-433
GUARD, locking
305
82C-451
JUMPER WIRE
306
0-375
BARE PRESSURE CONTROL BOX
308
820362
BRIDGE, rectifier, SCR
309
820-366
CIRCUIT BREAKER
310
620-43
BOOT, circuit breaker
31
1
0-363
CORD, power supply
314
820-4ill
TERMINAL, male
312
820-442
ADAPTER,
terminal
316
W-444
.TERMINAL, male
318
820-437
TERMINAL, female
317
820445,
TERMINAL, male
320
620-440
TERMINAL, female
319
820-435
TERMINAL, female
322
820430
TERMINAL, female
321
820-423
TERMINAL,
male
324 62046
TERMINAL, female
323 0-439
TERMINAL, female
325
%&&a
TERMINAL,
ring
327
820448
LOCKWASHER, No.
8,
internal
329
820434
TIP, pin, black plastic
328
820-431
BUSHING, Strain relief
Includes items
302,303,304
34ElZkm3
1
1
1
1
1
1
1
1
3
2
1
1
3
1
1
1
QTY
330
820449
PIN
331
820427
SCREW, machine,
flat
head;
1
3324
820425
-
NUT,
hex,
mr, NO.
10-24
thd
2
33
820-426
LOCKWASHER, internal, shakaproof;
2
No.
10
2
No.
10-24
x-5/8"
long
334
**178797
LABEL, WARNING
335
*'178035
LABEL. WARNING
-
1
1.
EO-W
TERMINAL, mala
337
820-446
TERMINAL, female
1
1
341
820-424
SCREW, mach. slotted pan hd; No.
342 820-410
ELBOW; street;
1/4
npth xf)
1
343
820-322
CONNECTOR,
conduit
1
1
345
&W1
NIPPLE,
114
npt(m)
x
1/4
npsm
344
82fi4U
NIPPLE,
1/4
npt
1
1
307
number
in
description refers
to
separate instruction
manual.
i
.. .
,.
2
338
820447.
TERMINAL, mala
.. .
..
..
8x5116"
long
'>
:
"Warning
labels
and
tags
supplied
at
no charge.
..
..
.. .
See
"How
To
Order Replacement
Pam"
on page
37.
..

Related product manuals