EasyManua.ls Logo

Shure SE30 - Page 14

Shure SE30
32 pages
Print Icon
To Next Page IconTo Next Page
To Next Page IconTo Next Page
To Previous Page IconTo Previous Page
To Previous Page IconTo Previous Page
Loading...
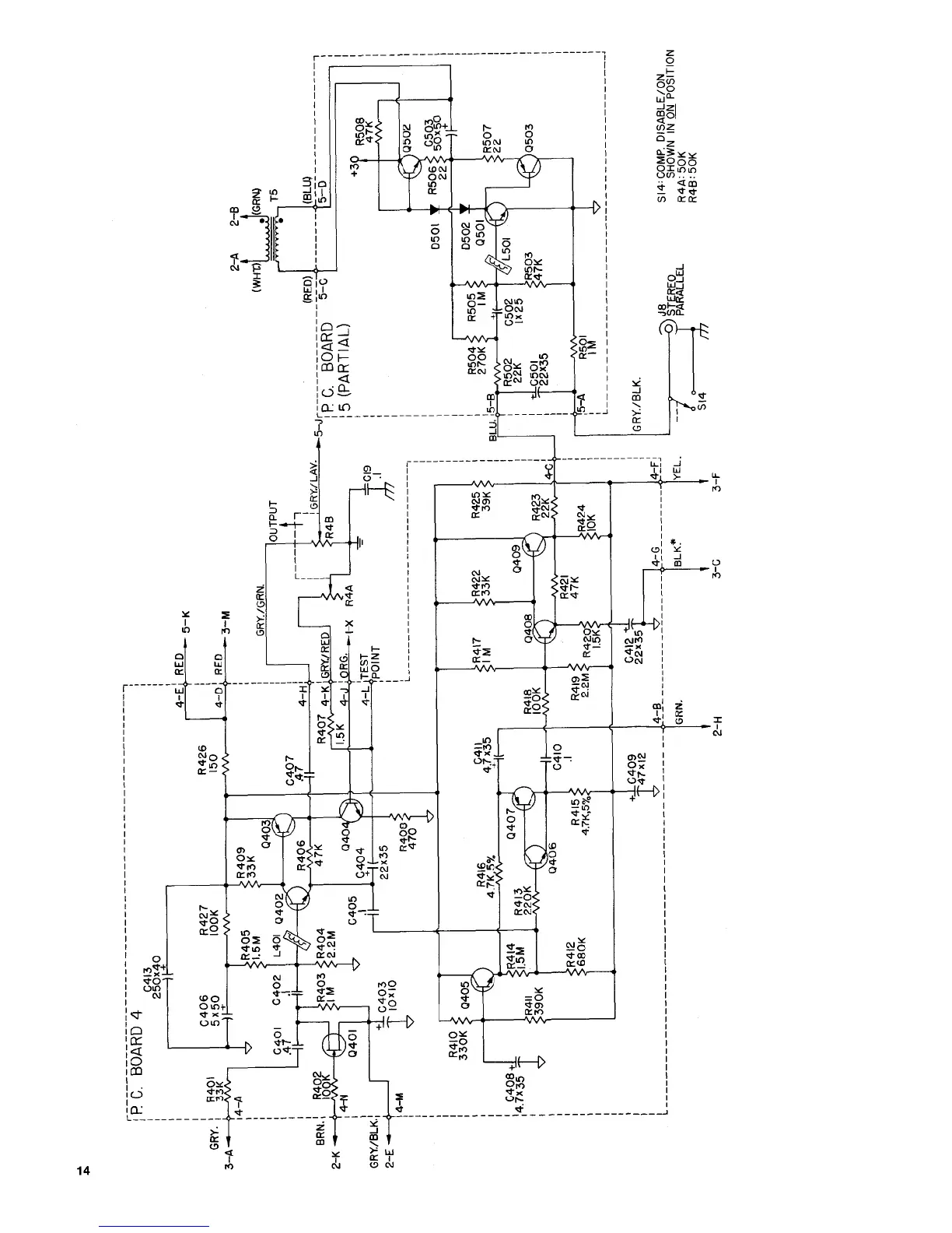
SCHEMATIC DIAGRAM - FIGURE 4C

Related product manuals