EasyManua.ls Logo

Shure SE30 - Printed Circuit Board

Shure SE30
32 pages
Print Icon
To Next Page IconTo Next Page
To Next Page IconTo Next Page
To Previous Page IconTo Previous Page
To Previous Page IconTo Previous Page
Loading...
22
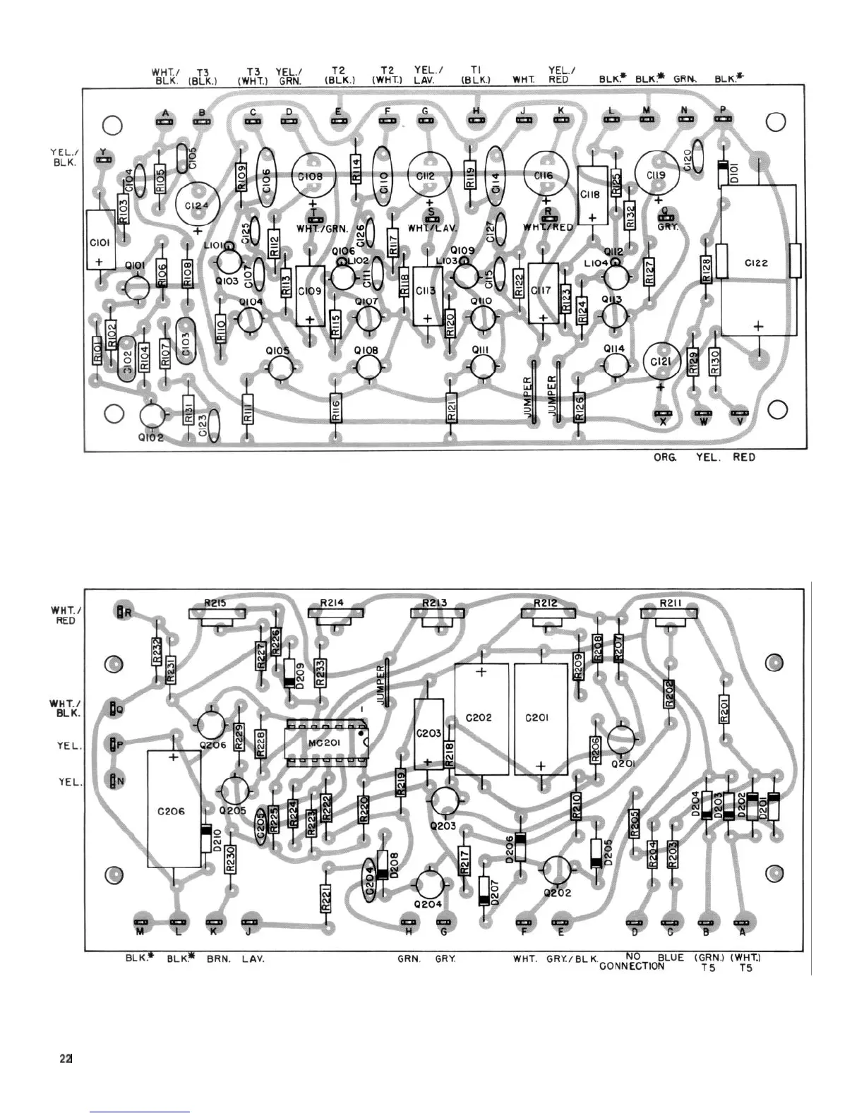
PRINTED CIRCUIT BOARD 1
PRINTED CIRCUIT BOARD 2
PARTS PLACEMENT
FIGURE 6A

Related product manuals