EasyManua.ls Logo

Siemens 7UT512

Siemens 7UT512
248 pages
To Next Page IconTo Next Page
To Next Page IconTo Next Page
To Previous Page IconTo Previous Page
To Previous Page IconTo Previous Page
Loading...
$SSHQGL[87
9

&*&
% &7 FRQQHFWLRQV







$
$
$
%
%
%
0RGXOHIOXVK FDVH
$
$
$
%
%
%
87
6XUIDFH FDVH
/ / /
/ / /
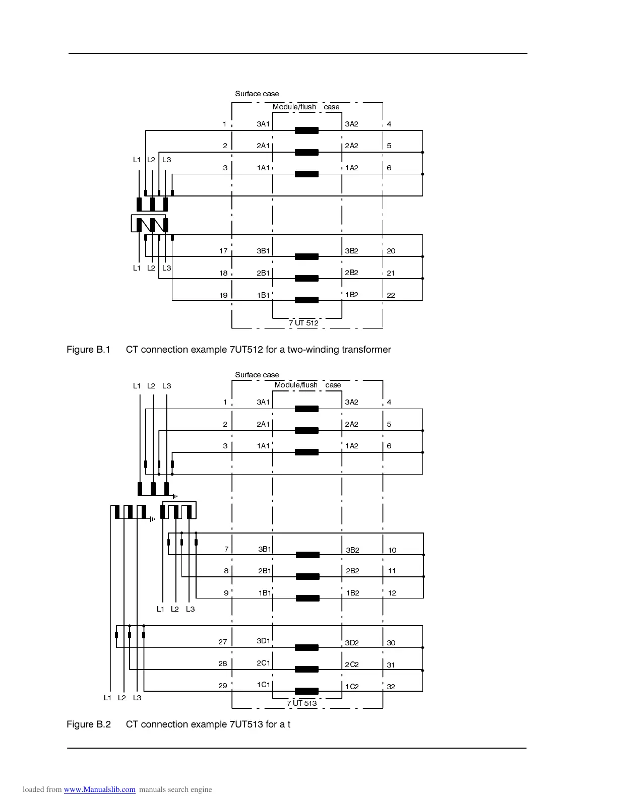
)LJXUH % &7 FRQQHFWLRQ H[DPSOH 87 IRU D WZRZLQGLQJ WUDQVIRUPHU






6XUIDFH FDVH
&
'
&
$
$
$
%
%
%



87
/ / /
&
'
&
/ / /
0RGXOHIOXVK FDVH
$
$
$
/ / /
%
%
%
)LJXUH % &7 FRQQHFWLRQ H[DPSOH 87 IRU D WKUHHZLQGLQJ WUDQVIRUPHU
www . ElectricalPartManuals . com

Related product manuals