EasyManua.ls Logo

Siemens 7UT513

Siemens 7UT513
248 pages
To Next Page IconTo Next Page
To Next Page IconTo Next Page
To Previous Page IconTo Previous Page
To Previous Page IconTo Previous Page
Loading...
2SHUDWLQJ LQVWUXFWLRQV87
9
&*&
7KH WULSSLQJ FKDUDFWHULVWLF IRUPV WZR PRUH EUDQFKHV
)LJXUH  7KH VORSH RI WKH ILUVW EUDQFK LV GHWHU
PLQHG E\ WKH DGGUHVV  6/23(  LWV EDVH SRLQW
LV WKH RULJLQ RI WKH FRRUGLQDWH V\VWHP 7KLV EUDQFK
FRYHUV FXUUHQW SURSRUWLRQDO HUURUV 7KHVH DUH PDLQO\
WUDQVIRUPDWLRQ HUURUV RI WKH PDLQ FXUUHQW WUDQVIRUP
HUV DQG WKH LQSXW WUDQVGXFHUV RI WKH UHOD\ RU WROHU
DQFHV LQ WKH PDWFKLQJ IDFWRUV ZKHQ WKH EUDQFK SRLQW
IHHGHUV KDYH GLIIHUHQW UDWHG SULPDU\ FXUUHQWV
7KH VHFRQG EUDQFK SURGXFHV D KLJKHU VWDELOL]DWLRQ
LQ WKH UDQJH RI KLJK FXUUHQWV ZKLFK PD\ OHDG WR FXU
UHQW WUDQVIRUPHU VDWXUDWLRQ ,WV EDVH SRLQW LV VHW XQ
GHU DGGUHVV  %$6( 37 DQG LV UHIHUUHG WR WKH
UDWHG EUDQFK SRLQW FXUUHQW 7KH VORSH LV VHW XQGHU
DGGUHVV  6/23(  7KH VWDELOLW\ RI WKH UHOD\ GXU
LQJ FXUUHQW WUDQVIRUPHU VDWXUDWLRQ FDQ EH LQIOXHQFHG
E\ WKLV SDUDPHWHU $ KLJKHU VORSH UHVXOWV LQ D KLJKHU
VWDELOLW\
'XULQJ DQ H[WHUQDO IDXOW ZKLFK SURGXFHV D KLJK
WKURXJKIORZLQJ VKRUWFLUFXLW FXUUHQW FDXVLQJ VHYHUH
FXUUHQW WUDQVIRUPHU VDWXUDWLRQ DQ lDGGRQl VWDELOL
]DWLRQ ZLOO EHFRPH HIIHFWLYH ZKLFK LV GHILQHG E\ DG
GUHVV  6$75(675 VDWXUDWLRQ UHVWUDLQW 7KLV
YDOXH LV UHIHUUHG WR WKH UDWHG EUDQFK SRLQW FXUUHQW
WRR ,WV VORSH LV
RI WKH VORSH RI WKH EUDQFK  ,W
VKRXOG EH QRWHG WKDW WKH VWDELOL]LQJ TXDQWLW\ GXULQJ
WKURXJKIORZLQJ FRQGLWLRQ LV WKH DULWKPHWLFDO VXP RI
WKH FXUUHQWV WKURXJK WKH ZLQGLQJV LH WZLFH WKH
WKURXJKIORZLQJ FXUUHQW 7KH PD[LPXP GXUDWLRQ RI
WKLV DGGRQ VWDELOL]DWLRQ FDQ EH VHW XQGHU DGGUHVV
 DV D PXOWLSOH RI WKH DF SHULRGV
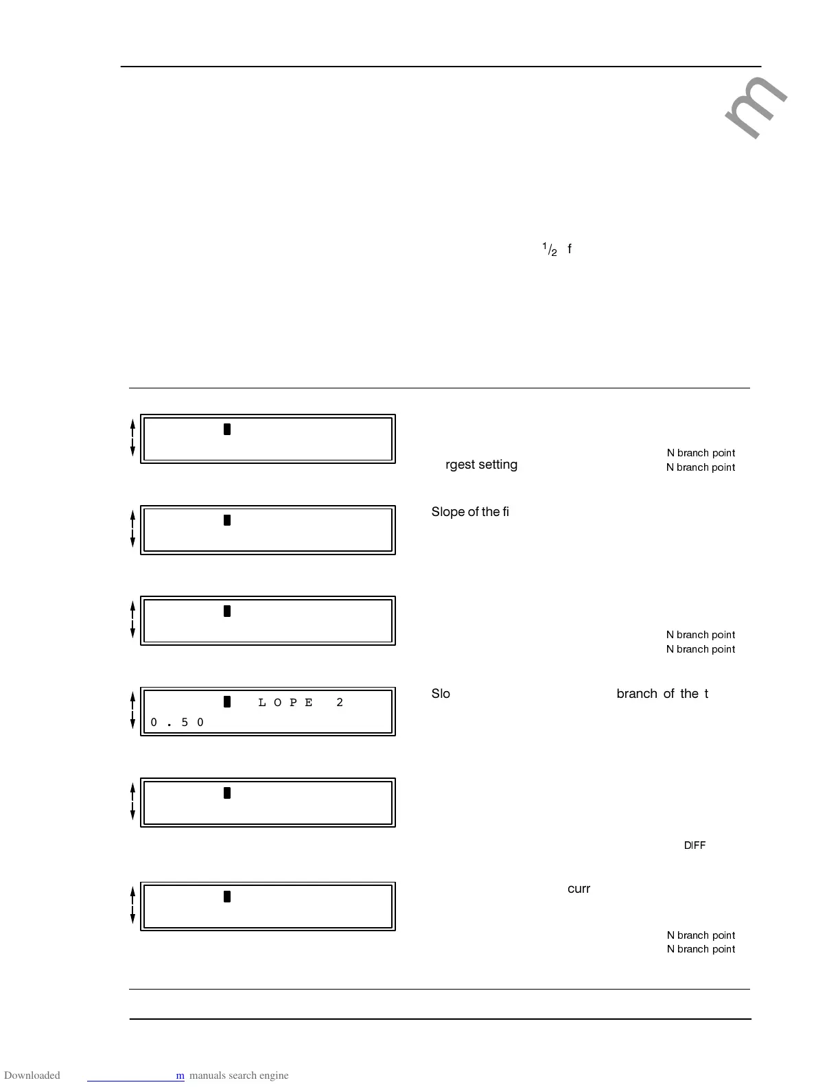
 ,',))!
 ,,Q3W
3LFNXS YDOXH RI GLIIHUHQWLDO FXUUHQW UHIHUUHG WR WKH UDWHG
EUDQFK SRLQW FXUUHQW
6PDOOHVW VHWWLQJ  k ,
1 EUDQFK SRLQW
/DUJHVW VHWWLQJ  k ,
1 EUDQFK SRLQW
 6/23(

6ORSH RI WKH ILUVW GHFOLQHG EUDQFK RI WKH WULSSLQJ FKDUDF
WHULVWLF
6PDOOHVW VHWWLQJ 
/DUJHVW VHWWLQJ 
 %$6( 37
 ,,Q3W
%DVH SRLQW RI WKH VHFRQG GHFOLQHG EUDQFK RI WKH WULSSLQJ
FKDUDFWHULVWLF
6PDOOHVW VHWWLQJ  k ,
1 EUDQFK SRLQW
/DUJHVW VHWWLQJ  k ,
1 EUDQFK SRLQW
 6/23(

6ORSH RI WKH VHFRQG GHFOLQHG EUDQFK RI WKH WULSSLQJ
FKDUDFWHULVWLF
6PDOOHVW VHWWLQJ 
/DUJHVW VHWWLQJ 
 76$7%/2
3
PD[LPXP GXUDWLRQ RI WKH DGGRQ VWDELOL]DWLRQ GXULQJ GH
WHFWHG FXUUHQW WUDQVIRUPHU VDWXUDWLRQ
6PDOOHVW VHWWLQJ DF SHULRGV
/DUJHVW VHWWLQJ  DF SHULRGV
RU * XQWLO GURSRII RI WKH GLIIHUHQWLDO VWDJH ,
',))
!
 6$75(675
 ,,Q3W
6WDELOL]LQJ UHVWUDLQLQJ FXUUHQW ZKLFK LV GHFLVLYH IRU WKH
DGGRQ VWDELOL]DWLRQ UHIHUUHG WR WKH UDWHG EUDQFK SRLQW
FXUUHQW
6PDOOHVW VHWWLQJ  k ,
1 EUDQFK SRLQW
/DUJHVW VHWWLQJ  k ,
1 EUDQFK SRLQW
www . ElectricalPartManuals . com

Related product manuals