EasyManua.ls Logo

Siemens 7UT513

Siemens 7UT513
248 pages
To Next Page IconTo Next Page
To Next Page IconTo Next Page
To Previous Page IconTo Previous Page
To Previous Page IconTo Previous Page
Loading...
2SHUDWLQJ LQVWUXFWLRQV87
9
&*&
7\SH RI IDXOW
5HIHUHQFH ZLQGLQJ
XSSHU YROWDJH
(YHQ 9*QXPHUDO
     
2G G 9 *  Q X PH U D O
     
WKUHHSKDVH
W Z R  S K D V H
VLQJOHSKDVH
ZLWK ,
HOLPLQDWLRQ


c

c 
VLQJOHSKDVH
ZLWKRXW ,
HOLPLQDWLRQ
c 
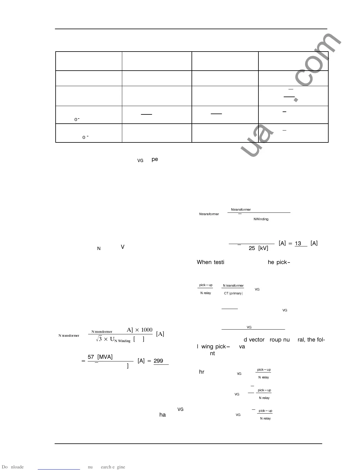
7DEOH  &RUUHFWLRQ IDFWRU N
9*
GHSHQGLQJ RI YHFWRU JURXS DQG IDXOW W\SH
7KH SLFNXS YDOXHV DUH FKHFNHG IRU HDFK ZLQGLQJ
E\ VORZO\ LQFUHDVLQJ WKH WHVW FXUUHQW ZLWK WKH VHF
RQGDU\ WHVW VHW 7ULSSLQJ LV LQLWLDWHG ZKHQ WKH FRQ
YHUWHG SLFNXS YDOXH LV UHDFKHG
([DPSOH 
7UDQVIRUPHU 3
1
09$YHFWRUJURXS<G
3ULPDU\ KLJKHU YROWDJH  N9
&XUUHQW WUDQVIRUPHUV  $ $
6HFRQGDU\ ORZHU YROWDJH  N9
&XUUHQW WUDQVIRUPHUV  $ $
7KH IROORZLQJ DSSOLHV IRU WKH SULPDU\ ZLQGLQJ
,
1 WUDQVIRUPHU
3
1 WUDQVIRUPHU
>
09$
@

¯
8
1 :LQGLQJ
>
N9
@
>
$
@

>
09$
@

¯

>
N9
@
>
$
@

>
$
@
,Q WKLV FDVH WKH UDWHG FXUUHQW RI WKH ZLQGLQJ LV SUDFWL
FDOO\ HTXDO WR WKH FXUUHQW WUDQVIRUPHU UDWHG FXUUHQW
7KXV WKH SLFNXS YDOXH UHIHUUHG WR WKH UDWHG UHOD\
FXUUHQW FRPSOLHV ZLWK WKH VHW ,',))! RI WKH UHOD\
ZKHQ WKUHH RU WZRSKDVH WHVWLQJ LV SHUIRUPHG N
9*
IRU UHIHUHQFH ZLQGLQJ :LWK VLQJOHSKDVH WHVW
LQJ DQG ]HUR VHTXHQFH FXUUHQW HOLPLQDWLRQ D SLFN
XS YDOXH  WLPHV KLJKHU PXVW EH H[SHFWHG
7KH IROORZLQJ DSSOLHV IRU WKH VHFRQGDU\ ZLQGLQJ
,
1WUDQVIRUPHU
3
1WUDQVIRUPHU
>
09$
@

¯
8
1:LQGLQJ
>
N9
@
>
$
@

>
09$
@

¯

>
N9
@
>
$
@

>
$
@
:KHQ WHVWLQJ WKLV ZLQGLQJ WKH SLFNXS YDOXH UH
IHUUHG WR WKH UDWHG UHOD\ FXUUHQW ZLOO DPRXQW WR
,
SLFN
XS
,
1 UHOD\
,
1 WUDQVIRUPHU
,
&7
Æ
SULPDU\
É
N
9*
,  ' , )) 0
$
$
,  ' , )) 0N
9*
 N
9*
,  ' , )) 0
%HFDXVH RI WKH RGG YHFWRU JURXS QXPHUDO WKH IRO
ORZLQJ SLFNXS YDOXHV UHIHUUHG WR WKH UDWHG UHOD\
FXUUHQW DSSO\
WKUHHSKDVH N
9*
,
SLFN
XS
,
1 UHOD\
 ô ,  ' , ) ) 0
W Z R  S K D V H N
9*
¯
,
SLFN
XS
,
1 UHOD
\
 ô ,  ' , ) )
0
VLQJOHSKDVHN
9*
¯
,
SLFN
XS
,
1 UHOD
\
 ô ,  ' , ) )
0
www . ElectricalPartManuals . com

Related product manuals