EasyManua.ls Logo

Siemens 7UT513

Siemens 7UT513
248 pages
To Next Page IconTo Next Page
To Next Page IconTo Next Page
To Previous Page IconTo Previous Page
To Previous Page IconTo Previous Page
Loading...
,QVWDOODWLRQ LQVWUXFWLRQV87
9

&*&
87
$ %

$
$
$
$
$
%
%
%
%
%





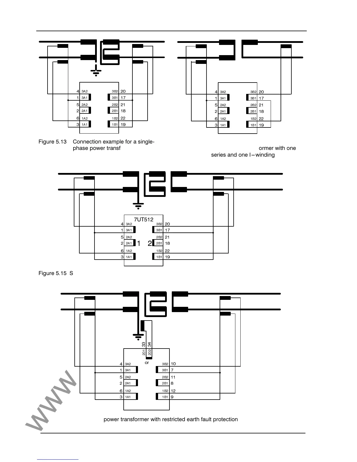
)LJXUH  &RQQHFWLRQ H[DPSOH IRU D VLQJOH
SKDVH SRZHU WUDQVIRUPHU ZLWK RQH
VHULHV DQG RQH SDUDOOHO ZLQGLQJ
87
$ %

$
$
$
$
$
%
%
%
%
%





)LJXUH  &RQQHFWLRQ H[DPSOH IRU D VLQJOH
SKDVH SRZHU WUDQVIRUPHU ZLWK RQH
VHULHV DQG RQH ,ZLQGLQJ
87
$ %

$
$
$
$
$
%
%
%
%
%





)LJXUH  6LQJOHSKDVH SRZHU WUDQVIRUPHU ZLWK WZR VHULHV DQG RQH FRPSHQVDWLQJ ZLQGLQJ
87
$
RU
%
$ %
$
$
$
$
$
%
%
%
%
%



'
'
)LJXUH  6LQJOHSKDVH SRZHU WUDQVIRUPHU ZLWK UHVWULFWHG HDUWK IDXOW SURWHFWLRQ
www . ElectricalPartManuals . com

Related product manuals