EasyManua.ls Logo

Siemens FDT421 - Detector Wiring Configurations; Polarity Insensitive and Isolator Modes; Wire Size Guidance

Siemens FDT421
4 pages
Print Icon
To Next Page IconTo Next Page
To Next Page IconTo Next Page
To Previous Page IconTo Previous Page
To Previous Page IconTo Previous Page
Loading...
A6V10323930_c_en_-- 3
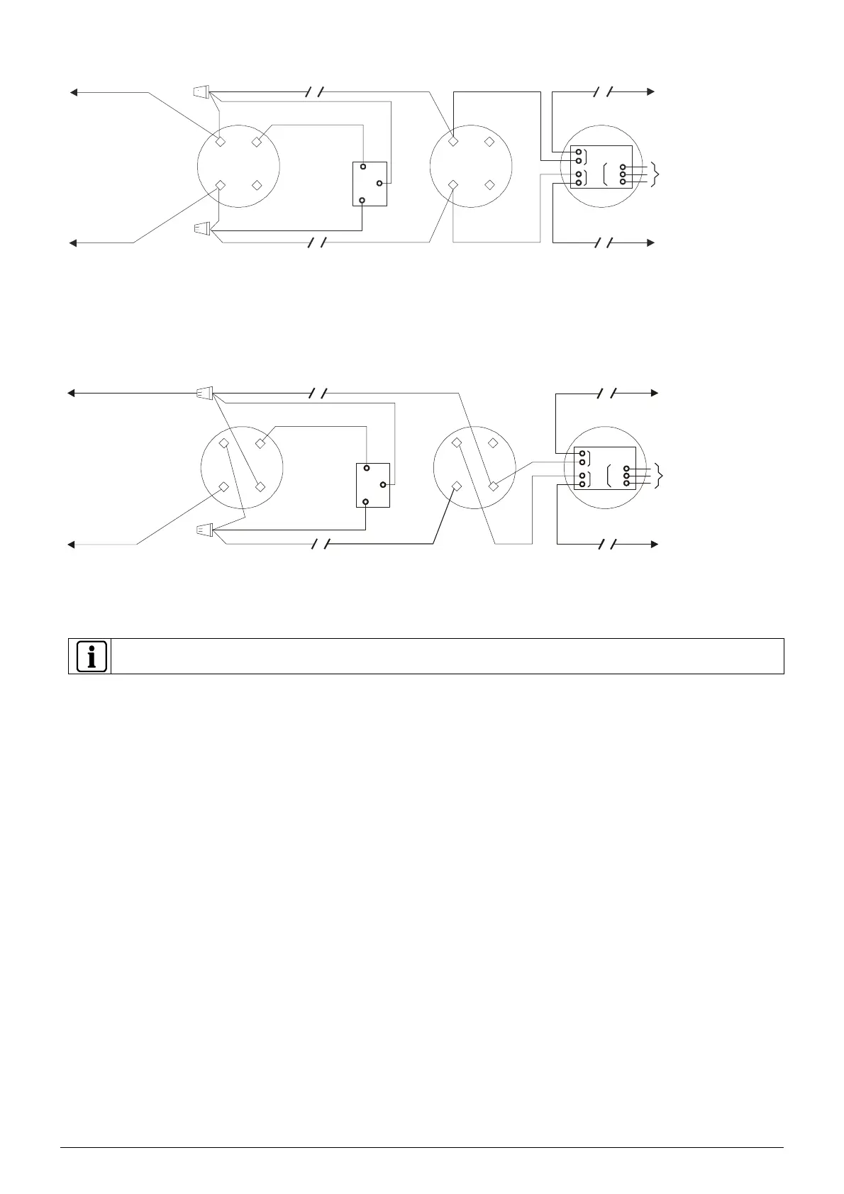
Polarity insensitive wiring:
Figure 2
Isolator mode
w
iring:
Figure 3
Wire size: maximum 14 AWG, minimum 18 AWG (Wire larger than 14 AWG can damage the connector)
TO INITIATING CIRCUIT
OF SIEMENS COMPATIBLE
CONTROL UNIT
OPTIONAL
REMOTE
ALARM
INDICATOR
MODELS
8727W / 8727C /
RL-HW / RL-HC
TO NEXT BASE
TO NEXT BASE
DO NOT USE AN
END OF LINE DEVICE
DETECTOR BASE
MODEL DB-11/DB-11E
LINE 1 *
LINE 2 *
5
6
1a
TB1
TB3
TB2
1b
5
6
1a
1b
** The relay contacts are shown after System reset, which represents the non-alarm condition.
* FDT421 is a polarity insensitive detector. Line 1 and Line 2 can be either line of the loop.
5+
NO
C
NC
6-
RELAY CONTACTS **
3A, 120 VAC
3A, 30 VDC
DO NOT USE AN
END OF LINE DEVICE
OPTIONAL
REMOTE
ALARM
INDICATOR
MODELS
8727W / 8727C /
RL-HW / RL-HC
TO NEXT BASE
TO NEXT BASE
DO NOT USE AN
END OF LINE DEVICE
DETECTOR BASE
MODEL DB-11/DB-11E
LINE 1
LINE 2
5
6
1a
TB1
TB3
TB2
1b
5
6
1a
1b
*
The relay contacts are shown after System reset, which represents the non-alarm condition.
5+
NO
C
NC
6-
RELAY *
CONTACTS
3A, 120 VAC
3A, 30 VDC
DO NOT
USE AN
END OF LINE DEVICE
++
To initiating circuit of
SIEMENS compatible control unit

Related product manuals