EasyManua.ls Logo

Siemens LB55564 - Conexión Eléctrica; Montaje

Siemens LB55564
64 pages
Go to English
To Next Page IconTo Next Page
To Next Page IconTo Next Page
To Previous Page IconTo Previous Page
To Previous Page IconTo Previous Page
Loading...
49
La campana extractora sólo podrá conec-
tarse a una toma (caja) de corriente provista
de puesta a tierra. La toma de corriente
deberá encontrarse o montarse lo más
cerca posible de la campana y ser perfecta-
mente accesible. En caso de que la toma
de corriente no fuera accesible tras montar
el aparato, deberá montarse en la instala-
ción eléctrica un dispositivo de separación.
Como dispositivo de separación se admiten
interruptores con una abertura de contacto
superior a 3 mm y desconexión de todas
las fases. Esto incluye interruptores LS y
contactores.
En caso de reparación del aparato
deberá desconectarse siempre el aparato
de la red eléctrica, antes de iniciar los tra-
bajos correspondientes.
Los trabajos de reparación que fuera
necesario efectuar en la campana sólo
podrán ser ejecutados por personal técnico
especializado.
En caso de presentar el cable de cone-
xión de este aparato daños o desperfec-
tos, sólo podrá ser sustituido por el fabri-
cante, por un técnico especializado del
Servicio de Asistencia Técnica Oficial.
de la marca o por una persona debida-
mente cualificada del ramo.
Longitud del cable de conexión a la red
eléctrica: 1,20 m.
Datos de conexión a la red eléctrica:
Las características técnicas relativas la
conexión eléctrica del aparato figuran en la
placa de características del aparato que se
encuentra en el interior de la campana y a
la que se puede acceder tras desmontar el
marco del filtro.
No introducir las manos en la salida de
aire
El aparato cumple las normas comunitarias
en materia de radiodesparasitaje
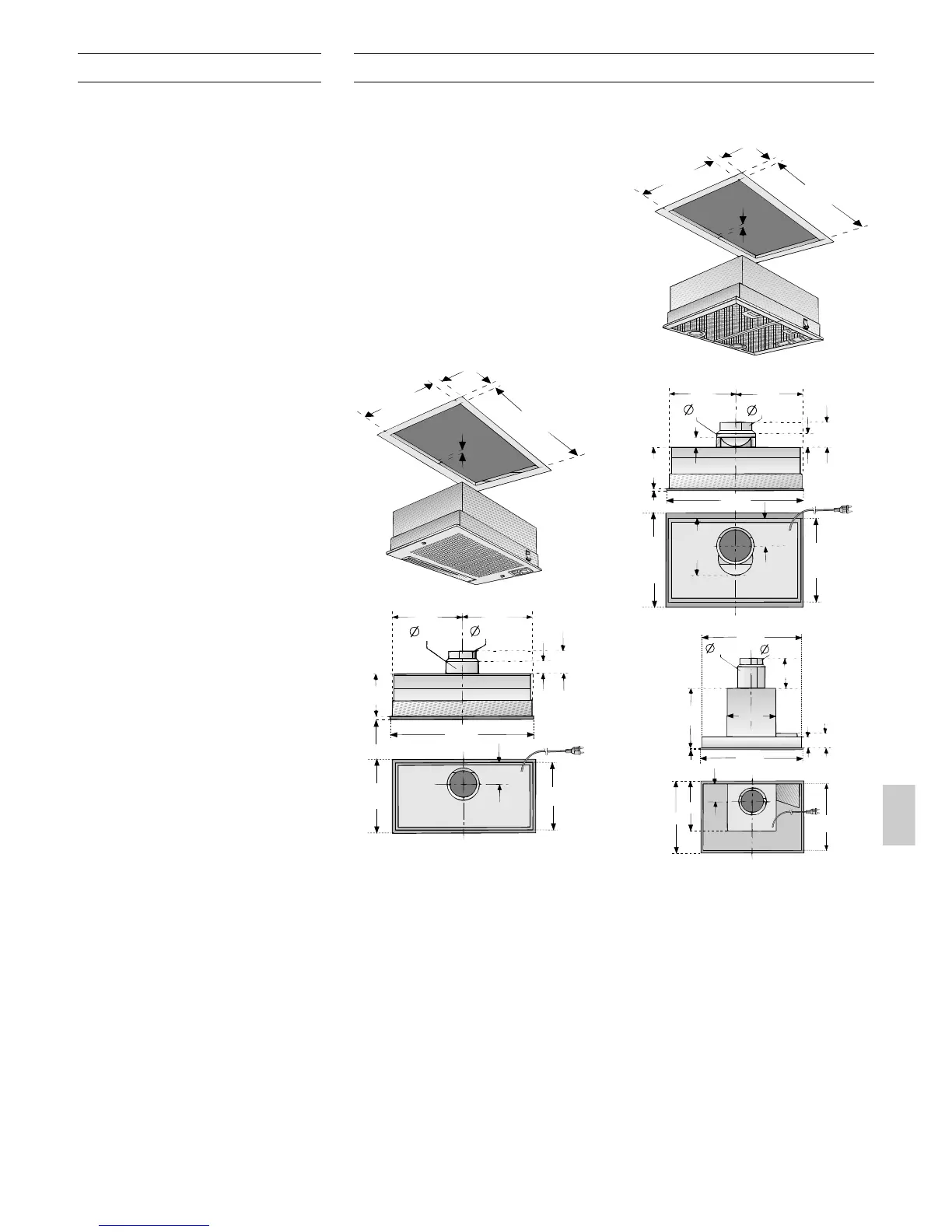
Conexión eléctrica
La presente campana extractora es parti-
cularmente adecuada para su montaje en
chimeneas.
Para lograr una aspiración óptima
(particularmente importante en caso de
soluciones fijadas al techo):
q
Montar la campana extractora en la
posición más alta posible
q
La campana extractora debe cubrir
toda la zona de cocción
Para integrar la campana en el lugar de
montaje previsto deberán existir las
siguientes escotaduras o huecos de
montaje:
Campana extractora con interruptor bascu-
lante, 53 cm de anchura, 1 motor
min 1
0
m
in 15
500
-3
260
-
3
16
160
47
75
120
248
248
75
100
280
530
12
256
Campana extractora con mando desplaza-
ble, 53 cm de anchura, con 1 ó 2 motores
m
in 15
min 15
500
-3
16
35
2
-3
9
346
380
530
160
55
95
150
120
248
248
100
35
225
Montaje
310
160
150
120
95
80
60
496
9
230
250
380
530
346

Related product manuals