EasyManua.ls Logo

Siemens SIMATIC RS 485 - Page 19

Siemens SIMATIC RS 485
46 pages
Print Icon
To Next Page IconTo Next Page
To Next Page IconTo Next Page
To Previous Page IconTo Previous Page
To Previous Page IconTo Previous Page
Loading...
Connecting
5.1 RS 485 Repeater in ungrounded and grounded operation
RS 485 Repeater
Manual, 02/2011, A5E03382072-01
19
Electrical isolation between bus segments
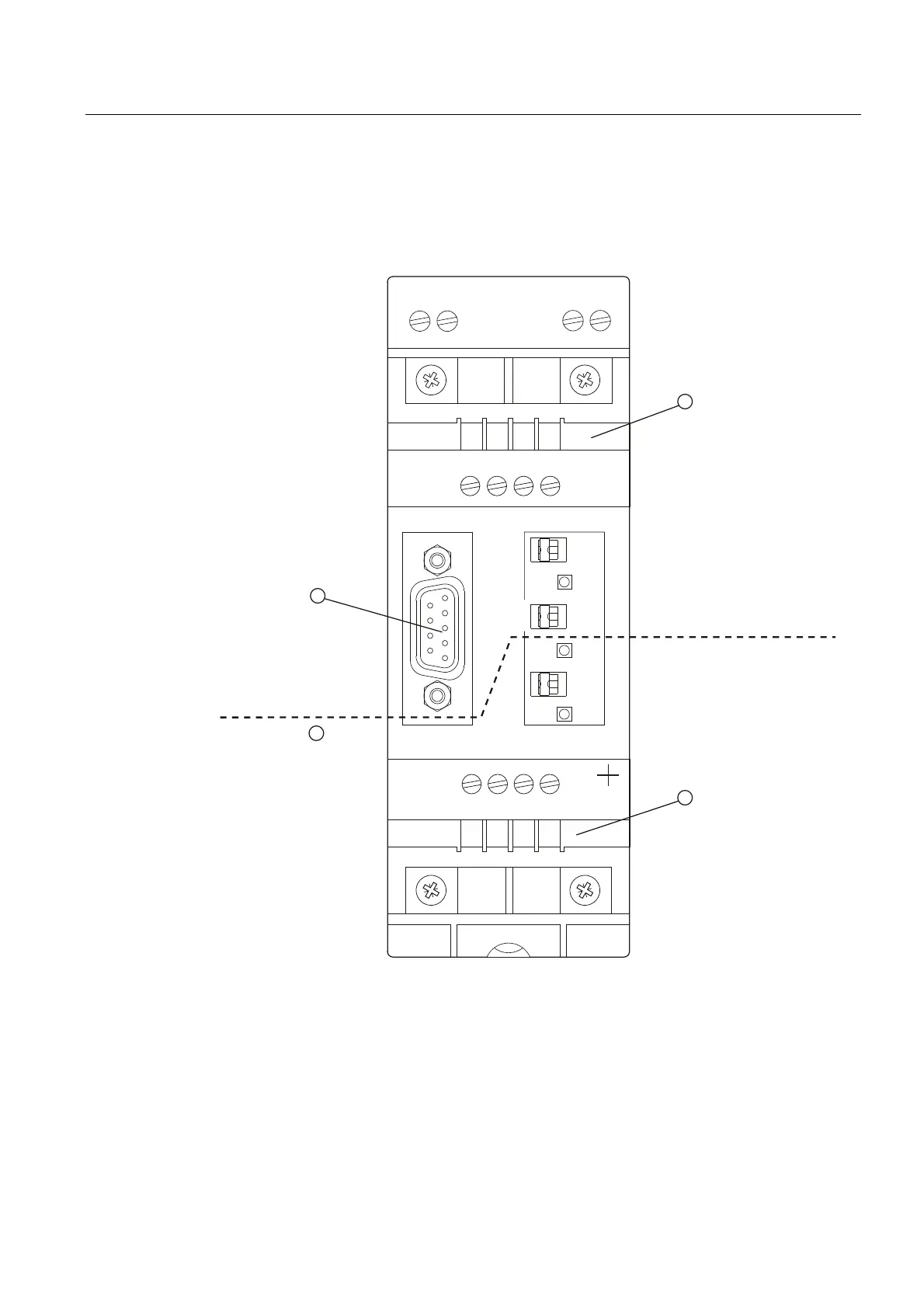
Bus segments 1 and 2 are electrically isolated. The PG/OP interface is connected internally
to the port for bus segment 1. The figure below shows the front panel of the RS 485
repeater.
$
56
5(3($7(5
(6
$$;$
% $ %
$ % $ %
/
;

03(0
21
21
2))
'3
6
6
'3
02'(
'&9
3*
23
s
PG/OP interface
Terminals for bus segment 1
Terminals for bus segment 2
Electrical isolation