EasyManua.ls Logo

Sigel Move it - Kombinationen von Office Boxen; 6 Reinigung und Pflege

Default Icon
Print Icon
To Next Page IconTo Next Page
To Next Page IconTo Next Page
To Previous Page IconTo Previous Page
To Previous Page IconTo Previous Page
Loading...
Office Caddy Meeting 11
Reinigung und Pflege
Kombinationen von Office Boxen
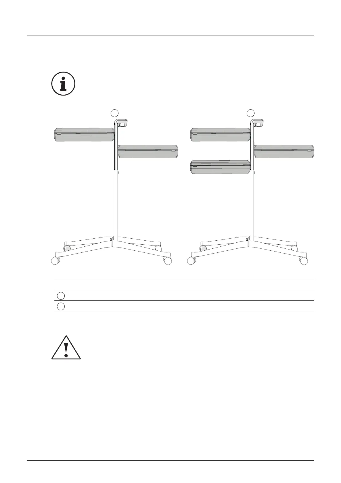
5.4 Kombinationen von Office Boxen
Die Formate der Office Boxen sind exakt aufeinander abgestimmt. So sind alle Formate miteinan-
der kombinierbar.
Hinweis
` Montieren Sie mehrere Office Boxen S mit ausreichend Abstand untereinander,
damit Sie diese leicht öffnen können.
` Bei mehreren Office Boxen S übereinander kann die untere Box nur über die
Schublade geöffnet werden.
A B
Bild 7 Kombinationsmöglichkeiten der SIGEL Office Boxen für Ihren Office Caddy Meeting
Kombination
Office Caddy Meeting mit 2 Office Boxen S
Office Caddy Meeting mit 3 Office Boxen S
6 Reinigung und Pflege
Achtung
` Benutzen Sie keine alkohol-, lösungsmittel- oder chlorhaltigen Reiniger, da diese
den Office Caddy Meeting und die Office Boxen schädigen können.
` Prüfen Sie alkoholfreie Reiniger vor der Verwendung stets an einer unauffälligen
Stelle auf Farb echtheit.
` Reiben bzw. scheuern Sie nicht mit Druck über die Oberflächen.
Wir empfehlen eine regelmäßige Reinigung, damit Sie lange Freude an Ihrem
Office Caddy Meeting haben.
Staub und leichte Verunreinigungen können Sie vorsichtig mit dem Staubsauger absaugen, mit
einer weichen Bürste oder einem weichen Tuch entfernen.
Die Oberfläche des Office Caddy Meeting ist trocken und feucht abwischbar. Verwenden Sie dazu
ein weiches, mit Wasser oder einem alkoholfreien Reiniger, leicht angefeuchtetes Mikro fasertuch.
A
B

Table of Contents

Related product manuals