EasyManua.ls Logo

Sigma EF-530 - Page 38

Sigma EF-530
Print Icon
To Next Page IconTo Next Page
To Next Page IconTo Next Page
To Previous Page IconTo Previous Page
To Previous Page IconTo Previous Page
Loading...
37
A-2. Paramétrage d'un ratio d'éclairage
Cette fonction n'est pas disponible sur les boîtiers reflex numérique / Maxuum QTSi / 300Si
-
Dynax 7D /
303Si / 300Si.
Le symbole
s'affiche automatiquement, mais il n'est pas possible d'utiliser le mode de synchro Haute
Vitesse.
Il est possible de répartir l'éclairage entre le flash intégré et le flash détaché selon un ratio de respectivement 1
et 2. La procédure de réglage du ratio d'éclairage variant d'un boîtier à l'autre, veuillez vous reporter au mode
d'emploi du boîtier.
B. UTILISATION D'UN FLASH ATTACHE EN TANT QUE FLASH DE COMMANDE
Cette fonction est accessible aux boîtiers Maxuum 9 / 7 /800si / 700si / 600si / 9xi – Dynax 9 / 7 / 800Si /
700Si / 600Si / 9xi.
B-1. Eclairage par le flash détaché seulement
Réglage du flash de commande
1. Appuyez sur le bouton MODE et sélectionnez l'icône
/
2. Appuyez sur SEL pour faire clignoter le numéro de canal sur l'écran
3. Appuyez sur la touche
+
ou
pour sélectionner le canal
4. Appuyez sur SEL à plusieurs reprises pour faire cesser le clignotement
5. Placez le flash sur l'appareil
Réglage du flash détaché
6. Appuyez sur le bouton MODE et sélectionnez l'icône
7. Appuyez sur SEL pour faire clignoter le numéro de canal sur l'écran
8. Appuyez sur
+
ou
et sélectionnez le même canal que pour le flash de commande.
9. Appuyez sur SEL à plusieurs reprises pour faire cesser le clignotement
10. Placez le flash détaché à l'emplacement désiré
11. Vérifiez que les deux flashes sont chargés
Le témoin de charge est allumé et le faisceau d'assistance AF du flash détaché clignote
12. Faites la mise au point sur le sujet et prenez la photo
La synchronisation Haute Vitesse peut être utilisée avec les boîtiers Maxuum/Dynax 7 et 5; selon la vitesse
d’obturation retenue, le mode passera automatiquement en synchro. normale ou en synchro. rapide. Elle n'est
pas accessible avec les autres boîtiers, malgré le fait que le symbole
apparaisse sur l'écran du flash de
commande et disparaisse lors du déclenchement, et qu'il soit affiché sur l'écran du flash détaché
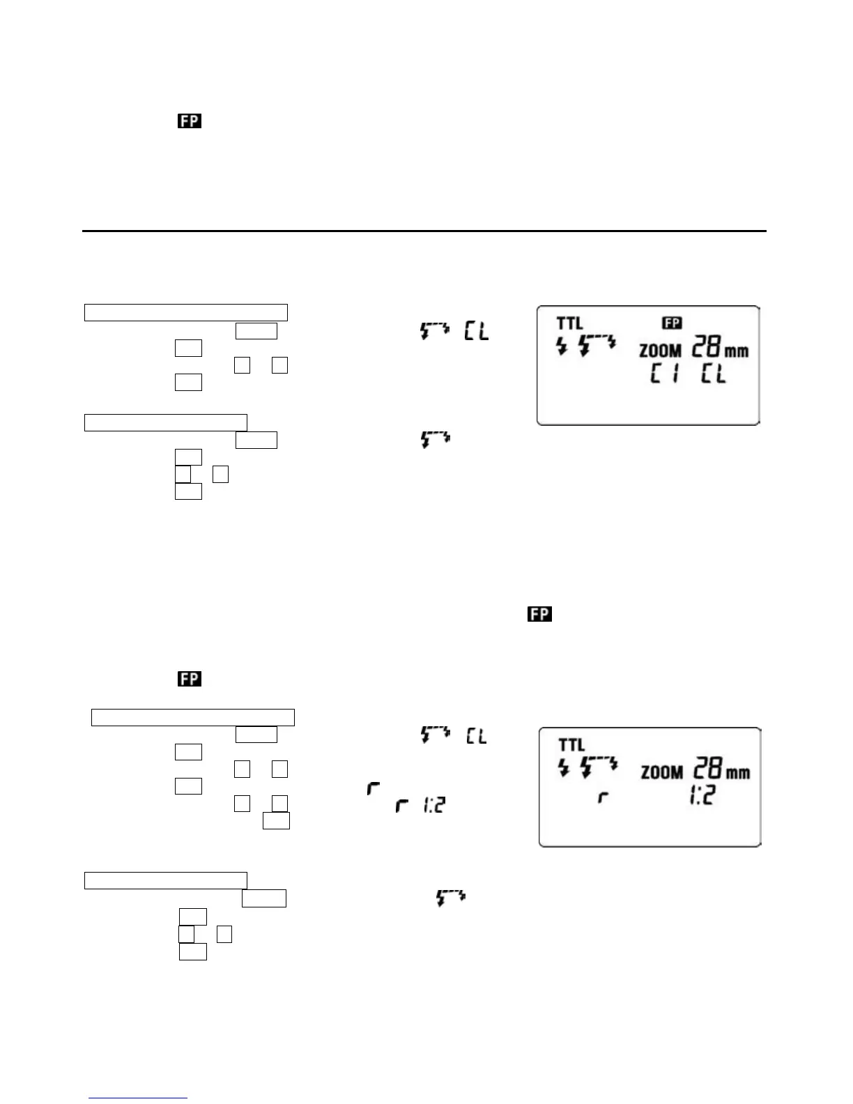
B-2. Paramétrage d'un ratio d'éclairage
Le symbole
s'affiche automatiquement, mais il n'est pas possible d'utiliser le mode de synchro Haute
Vitesse.
Réglage du flash de commande
1. Appuyez sur le bouton MODE et sélectionnez l'icône /
2. Appuyez sur SEL pour faire clignoter le numéro de canal sur l'écran
3. Appuyez sur la touche
+
ou
pour sélectionner le canal
4. Appuyez sur SEL pour faire clignoter l'icône
5. Appuyez sur la touche
+
ou
et sélectionnez /
6. Appuyez sur le bouton SEL pour confirmer et faire cesser le
clignotement
7. Placez le flash sur l'appareil
Réglage du flash détaché
8. Appuyez sur le bouton MODE et sélectionnez l'icône
.
9. Appuyez sur SEL pour faire clignoter le numéro de canal sur l'écran
10. Appuyez sur
+
ou
et sélectionnez le même canal que pour le flash de commande.
11. Appuyez sur SEL à plusieurs reprises pour faire cesser le clignotement
12. Placez le flash détaché à l'emplacement désiré
13. Vérifiez que les deux flashes sont chargés
Le témoin de charge est allumé et le faisceau d'assistance AF du flash détaché clignote
14. Faites la mise au point sur le sujet et prenez la photo

Related product manuals