EasyManua.ls Logo

Sigma EF-530 - Especificaciones

Sigma EF-530
Print Icon
To Next Page IconTo Next Page
To Next Page IconTo Next Page
To Previous Page IconTo Previous Page
To Previous Page IconTo Previous Page
Loading...
48
Designación del flash esclavo
Si utiliza dos o más unidades EF-530 DG SUPER SO-ADI, puede desganar cual de los flashes se
dispararán juntos utilizando los ajustes del canal. En este modo una unidad de flash se utilizará como
controlador esclavo y el resto para disparar como esclavos.
Ajustar los disparos de las unidades de flash
1. Coloque la unidad de flash en la cámara.
2. Ajuste la exposición de la cámara al modo S o M.
Ajuste la velocidad a 1/30 o inferior. El Controlador esclavo transmitirá la señal de designación antes que a los
otros flashes. Aunque si utiliza una velocidad más rápida que 1/30 las unidades de flash no estarán sincronizadas.
3. Conecte la unidad de flash “ON”, y presione el disparador levemente.
Ahora, el diafragma y la sensibilidad se transmiten automáticamente a la unidad de flash.
4. Saque la unidad de flash de la cámara.
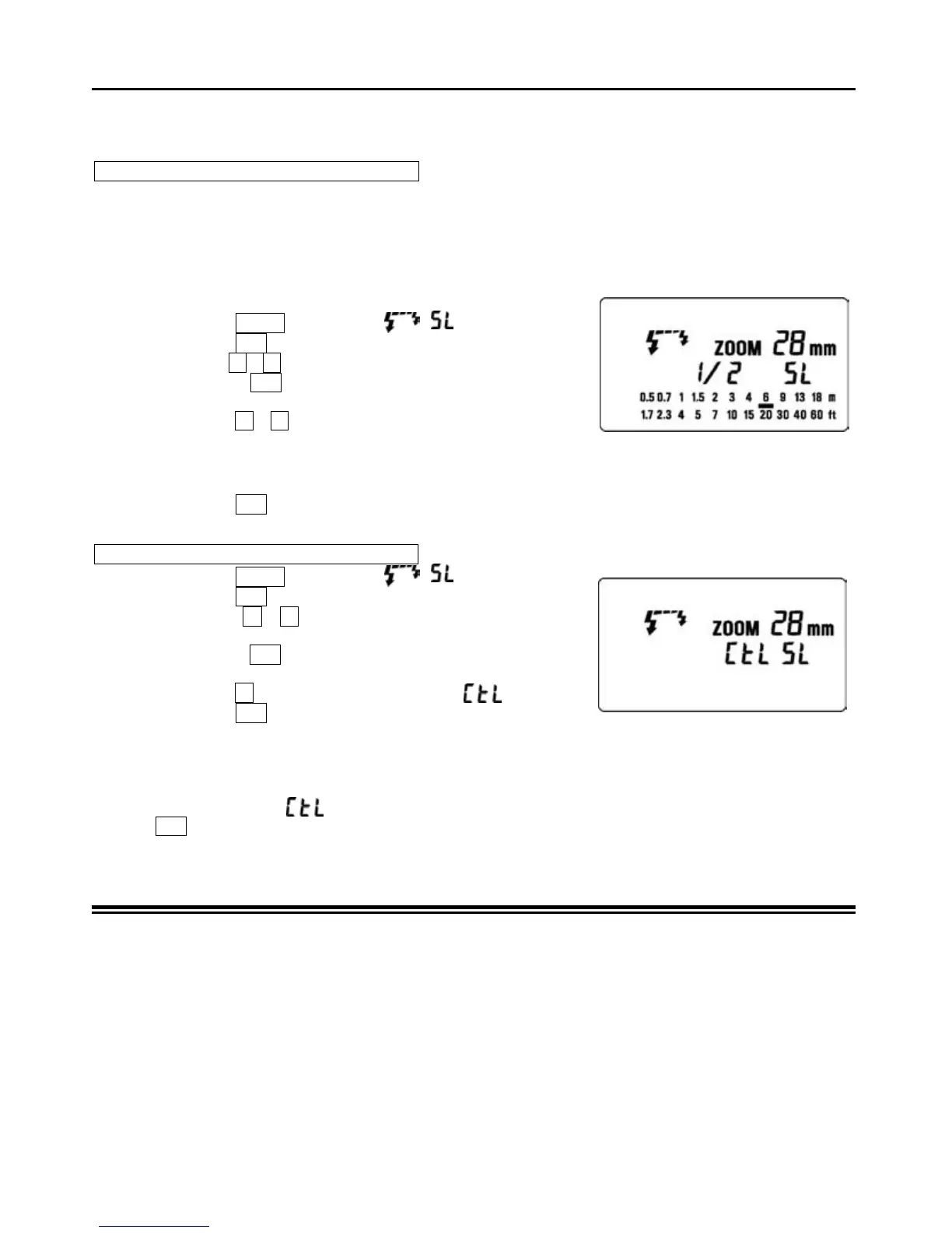
5. Presione el botón MODE y seleccione
/ ( Modo esclavo)
6. Presione el botón SEL para que el indicador de canal parpadee.
7.
Presione el botón
+
o
para ajustar el número de canal. (C1 o C2)
8. Presione el botón SEL para que el indicador de flash externo
parpadee en la pantalla.
9. Presione el botón
+
o
para ajustar el flash externo.
Ajuste la potencia del flash haciendo coincidir el indicador de distancia en la pantalla LCD lo más
aproximado posible con la distancia entre la unidad de flash esclavo y el sujeto. Si la distancia se
encuentra fuera del rango, necesitará cambiar el diafragma.
10. Presione el botón SEL repetidas veces para que aparezca la señal.
11. Coloque la unidad de flash en el lugar deseado. No lo coloque dentro del área de la foto.
Ajustes para la unidad Controladora Esclava
12. Presione el botón MODE y seleccione / . (Modo esclavo)
13. Presione el botón SEL para que el indicador de canal parpadee.
14. Presione el botón
+
o
y ajuste el mismo número de canal
para todas las unidades.
15. Presione el botón SEL para que el indicador de flash externo
parpadee en la pantalla.
16. Presione el botón
+
para que aparezca la marca .
17. Presione el botón SEL para que deje de parpadear.
18. Coloque la unidad de flash controlador en la cámara.
19. Después de comprobar que la unidad de flash está totalmente cargada, presione el disparador para
realizar la fotografía.
Cuando el flash EF-530 DG SUPER SO-ADI está totalmente cargado, la luz auxiliar AF parpadeará.
Si selecciona la marca en el ajuste de flash externo, no se puede ajustar el diafragma con el
botón SEL, la unidad de flash se tiene que ajustar al modo Controlador Esclavo.
Las funciones del Controlador Esclavo sólo controla la unidad de disparo.
ESPECIFICACIONES
TIPO: Flash electrónico automático zoom TTL tipo Clip-on con controlador de serie.
NUMERO GUIA: 53 ( 100 ISO/m, posición del cabezal 105 mm)
ALIMENTACION: Cuatro pilas alcalinas de tipo AA, cuatro pilas Ni-Cd de tipo AA,
cuatro pilas Niquel-hidrógeno de tipo AA.
TIEMPO DE RECICLAJE: acerca de 60 seg. (pilas alcalinas),
acerca de 4.0 seg. ( con pilas Ni-Cd o Niquel-hidrógeno)
NÚMERO DE DISPAROS: acerca de 220 disparos (pilas alcalinas),
acerca 100 disparos (con pilas Ni-Cd o Niquel-hidrógeno)
DURACIÓN DEL DISPARO: acerca de 1/ 700 seg.( disparo a máxima potencia)
ANGULO DE ILUMINACION DEL FLASH: 24mm a 105mm controlador de motor de potencia
17mm con la pantalla angular incorporada.
AUTODESCONECTABLE: disponible
PESO: 315 g. DIMENSIONES: 77mm x 139mm x 117mm

Related product manuals