EasyManua.ls Logo

Sigma EF-530 - Page 82

Sigma EF-530
Print Icon
To Next Page IconTo Next Page
To Next Page IconTo Next Page
To Previous Page IconTo Previous Page
To Previous Page IconTo Previous Page
Loading...
81
A. 使用相機內置閃燈作觸發
此功能不能使用於 Maxxum/Dynax 9xi i 系列相機上。
A-1. 只使用離機燈的情況下
1. 把閃光燈安裝到相機上並把相機設定為無線閃燈模式。
因相機型號設定方法各異,請參閱相關相機說明書。
當相機被設定成無線模式,閃光燈亦會自動地被設定為無線閃燈
模式,
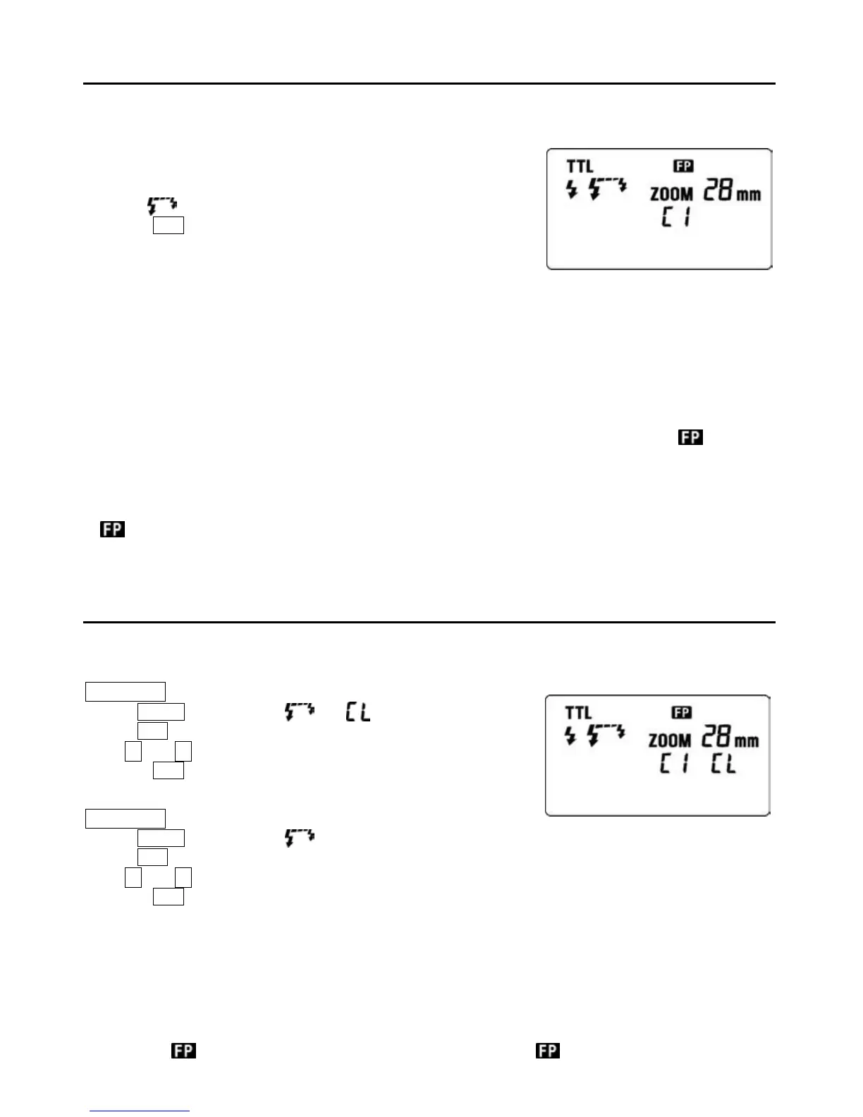
會被顯示在液晶顯示屏上。
2. 當按下SEL按鈕時,頻道資料會閃爍。
3. 按下+或-來設定頻道值。
如使用 3xi Vectis S-100,請把頻道值設定為 1
4. 把閃光燈從相機上移除並放在所需位置上。
5. 開啟相機的內置閃光燈並確定已完成充電。
在無線閃燈模式中,閃光燈完成充電後會以閃爍自動對焦輔助光來提示。
6. 向主體對焦及進行拍攝。
相機的內置閃光燈一但發射,EF-530 DG SUPER SO-ADI 便會被觸發。相機的內置閃光燈只是作
為觸發及控制之用途。照明主體之工作完全由 EF-530 DG SUPER SO-ADI 來完成。相機會像在
TTL 自動閃燈模式一般地去控制閃燈輸出來達到正確曝光。
無線高速閃燈同步可用於 數碼單鏡反光相機 Maxxum 70,7,5 (Dynax 60,7,5)因應快門速度之
不同一般閃燈模式或高速閃燈同步之間會自動地被切換在使用其他相機型號時
會被顯示
在液晶顯示屏上但不能使用無線高速閃燈同步。
A-2. 閃燈輸出比率控制
本功能不適用於 數碼單鏡反光相機 Maxxum (Dynax) QT Si / 300Si
會被顯示再在液晶顯示屏上,但不能使用無線高速閃燈同步來進行拍攝。
相機的內置閃光燈及離機閃燈的輸出比率會被控制成作 1:2。各相機型號的設定步驟都有所差異,
情請參閱相機說明書。
B. 使用安裝在機頂的外置閃燈作觸發
此功能適用於 Maxxum/Dynax 9,7,800si,700si,600si,9xi
B-1. 離機閃燈設定
主控燈設定
1. 按下“MODE”按鈕來選擇
2. 按下SEL按鈕來令頻道指示閃爍。
3. 按鈕來設定所需頻道值。
4. 按數次SEL按鈕直至各顯示停止閃爍。
5. 安裝閃燈到相機上。
離機燈設定
6. 按下“MODE”按鈕來選擇
7. 按下SEL按鈕來令頻道指示閃爍。
8. 按鈕來選擇與主控燈相同之頻道。
9. 按數次SEL按鈕直至各顯示停止閃爍。
10. 把離機燈安放在所需位置。
11. 確定各閃光燈已充電完成。
當充電完成後,充電完成提示燈會亮起,另外自動對焦輔助燈會閃爍。
12. 向主體對焦及進行拍攝。
無線高速閃燈同步可使用於 Maxxum / Dynax 7, Maxxum / Dynax 5 相機上,而因應所選擇的快
門速度,一般閃燈拍攝或無線高速閃燈同步之間的切換會自動被完成。無線高速閃燈同步不適用於
Maxxum / Dynax 7, Maxxum / Dynax 5 以外之相機,但是閃光燈的液晶顯示屏上會有如下之顯
示:一般
會顯示在主控燈上,但當按下快門時便會消失;
會顯示在離機燈上。

Related product manuals