EasyManua.ls Logo

SilverStone GD07 - Page 21

SilverStone GD07
48 pages
Print Icon
To Next Page IconTo Next Page
To Next Page IconTo Next Page
To Previous Page IconTo Previous Page
To Previous Page IconTo Previous Page
Loading...
20
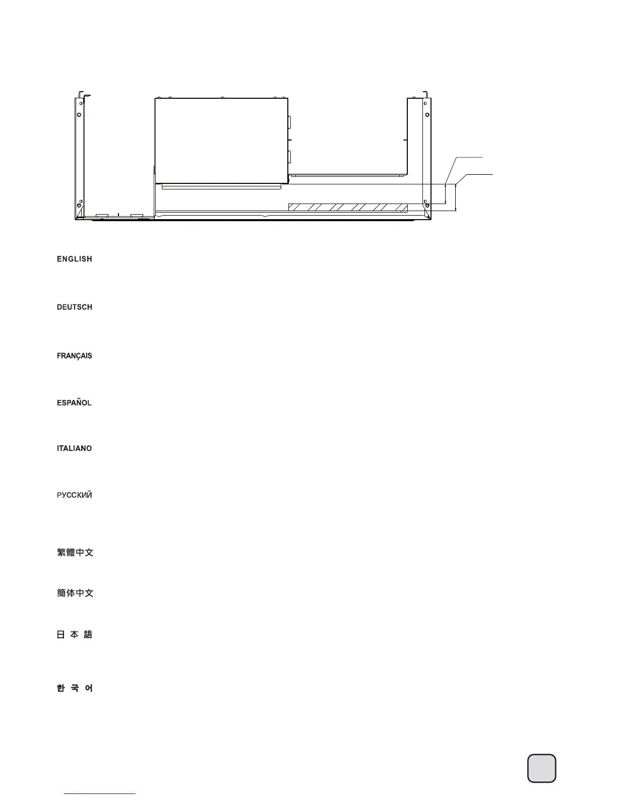
The distance between the base of the main hard drive bracket and the motherboard is 32.7mm.
(the clearance height for the CPU cooler under the main HDD cage is 23.8mm, normal cooler will not fit in this space)
Der Abstand zwischen der Basis der Hauptfestplattenhalterung und dem Motherboard beträgt 32,7 mm.
(die Freiraumhöhe für den CPU-Kühler unter dem Hauptfestplattenkäfig beträgt 23,8 mm, normale Kühler haben hier keinen Platz)
23.8 mm
32.7 mm
L'espace entre la base du support du disque dur principal et la carte mère est 32,7mm.
(la hauteur pour le refroidisseur de processeur sous la cage du DD principal est 23,8mm, un refroidisseur normal ne rentrera pas dans cet espace)
La distancia entre la base del bracket principal para discos duros y la placa base es de 32,7mm.
(la altura de seguridad para el disipador de la CPU bajo la carcasa principal para discos duros es de 23,8mm, un disipador normal no encajará en este espacio)
Расстояние между основанием кронштейна основного жесткого диска и системной платой составляет 32,7 мм.
(высота просвета для вентилятора охлаждения процессора под корзинкой основного жесткого диска составляет 23,8 мм, обычный
вентилятор охлаждения не поместится в этом пространстве)
La distanza tra la base del supporto principale dischi rigidi e la scheda madre è di 32,7 mm.
(lo spazio per il dissipatore di calore CPU sotto il telaio per dischi rigidi è di 23,8 mm, i normali dissipatori non entrano in questo spazio)
메인 하드 드라이브 브래킷의 베이스와 메인 보드 사이의 거리는 32.7mm입니다.
(메인 HDD 케이지 아래에 있는 CPU 쿨러의 여유 높이는 23.8mm이며, 일반 쿨러는 이 공간에 맞지 않습니다.)
主磁碟架底部與主機板的距離為32.7mm(位於主磁碟架下方之CPU Cooler限高23.8mm,一般Cooler均無法安裝於此)
主磁盘架底部与主机板的距离为32.7mm(位于主磁盘架下方之CPU Cooler限高23.8mm,一般Cooler均无法安装于此)
メイン・ハードディスクブラケットの基部とマザーボードの間の距離は、32.7mmです。
(メインHDDケージの下のCPUクーラーのための許容高さは23.8mmであり、通常のクーラーはこのスペースに適合しません)
Component size limitations

Related product manuals