EasyManua.ls Logo

SilverStone GD07 - Page 43

SilverStone GD07
48 pages
Print Icon
To Next Page IconTo Next Page
To Next Page IconTo Next Page
To Previous Page IconTo Previous Page
To Previous Page IconTo Previous Page
Loading...
42
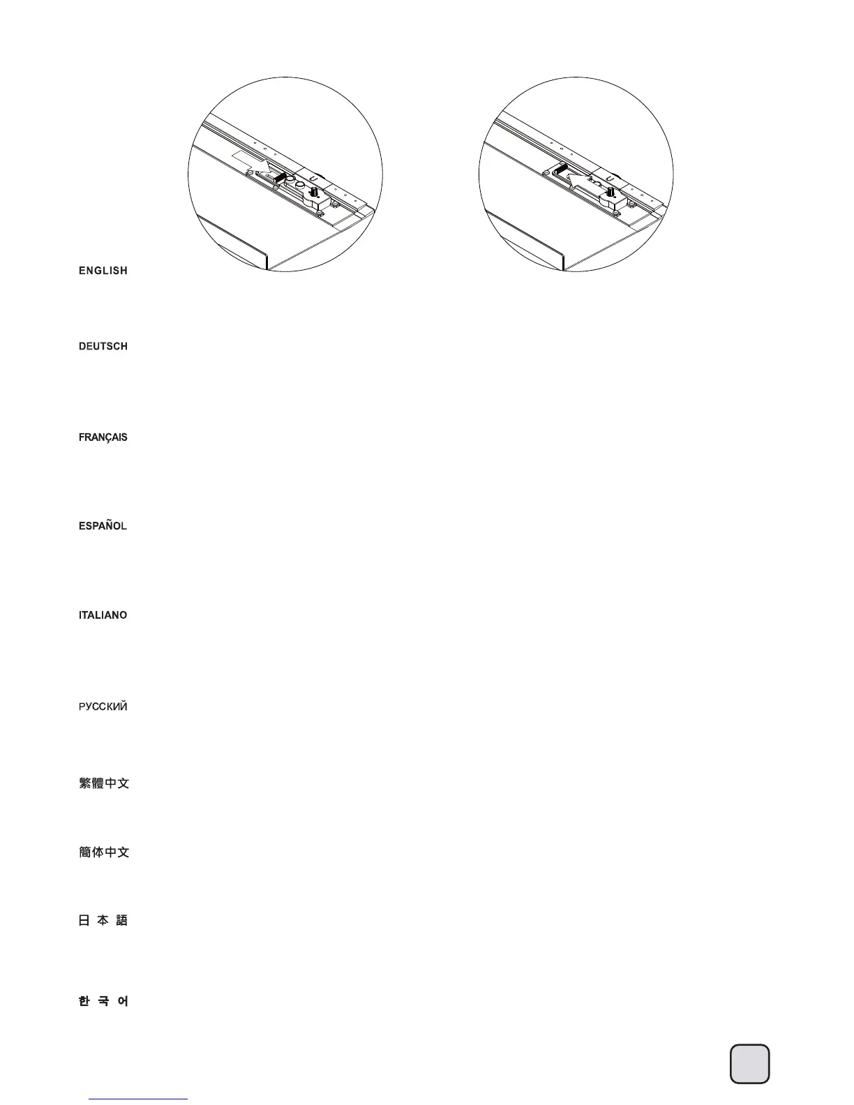
The front door panel contains a power button lock. Please refer to the picture below; when the power button lock is pushed to the right, you will
disable the power button on the front panel. After closing the front panel, you can use the key to lock the panel and disable the power button.
You can enable the power switch on the front panel again by pushing the power button lock to the left.
This is designed to prevent the power button from being pressed accidentally.
Push right to lock
power button.
Push left to unlock
power button.
Power button lock
Die Blende der Frontklappe enthält eine Sperre für die Ein-/Austaste. Bitte beachten Sie das nachstehende Bild; durch Drücken der Sperre der
Ein-/Austaste nach rechts deaktivieren Sie die Ein-/Austaste an der Frontblende. Nach Schließen der Frontblende können Sie die Klappe mit
dem Schlüssel abschließen und die Ein-/Austaste deaktivieren. Sie können die Ein-/Austaste an der Frontblende wieder aktivieren, indem Sie
die Sperre der Ein-/Austaste nach links drücken.
Dies soll verhindern, dass die Ein-/Austaste versehentlich gedrückt wird
Le panneau de la porte frontale contient un verrou du bouton d'alimentation. Veuillez vous référer à la photo suivante ; lorsque le verrou
du bouton d'alimentation est poussé vers la droite, vous désactivez le bouton d'alimentation du panneau frontal. Après la fermeture du
panneau frontal, vous pouvez utiliser le bouton pour verrouiller le panneau et désactiver le bouton d'alimentation. Vous pouvez activer le
bouton d'alimentation du panneau frontal en poussant à nouveau le verrou du bouton d'alimentation vers la gauche.
Cela est pour éviter les appuis accidentels sur le bouton d'alimentation.
El panel de la puerta delantera contiene un cierre para el botón de potencia. Por favor consulte la imagen siguiente: cuando el cierre del botón
de potencia se mueva hacia la derecha desconectará el botón de potencia del panel frontal. Tras cerrar el panel frontal podrá usar la llave para
cerrar el panel y desconectar el botón de potencia. Puede activar el interruptor de potencia del panel frontal de nuevo empujando el cierre del
botón de potencia hacia la izquierda.
Este diseño impide que el botón de potencia se vuelva a presionar de forma accidental.
Il pannello dello sportello frontale è dotato di un tasto di blocco dell’interruttore d’alimentazione. Fare riferimento all’immagine che segue; quando
il tasto di blocco dell’interruttore d’alimentazione è spinto verso destra, si disabilita il tasto d’alimentazione del pannello frontale. Dopo aver chiuso
il pannello frontale, si può usare la chiave per bloccare il pannello e disabilitare il tasto d’alimentazione. Il tasto d’alimentazione del pannello frontale
può essere riattivato spingendo verso sinistra il tasto di blocco dell’interruttore d’alimentazione.
Questo sistema è progettato per impedire la pressione accidentale del tasto d’alimentazione.
Protect your computer
Панель передней дверцы оборудована блокировкой кнопки питания. См. рисунок ниже. При нажатии на защелку кнопки питания вправо,
кнопка питания на передней панели отключается. После закрытия передней панели вы можете воспользоваться ключом для блокирования
панели и отключения кнопки питания. Снова включить кнопку питания на передней панели можно, нажав защелку кнопки питания влево
.
Это позволяет избежать случайного нажатия кнопки питания.
전면 도어 패널에는 전원 버튼 잠금장치가 있습니다. 아래의 그림을 참조하십시오. 전원 버튼 잠금장치를 오른쪽으로 밀면, 전면 패널에 있는
전원 버튼이 비활성화됩니다. 전면 패널을 닫은 후, 키를 사용하여 패널을 잠그고 전원 버튼을 비활성화합니다. 전원 버튼을 왼쪽으로 밀어
전면 패널에 있는 전원 스위치를 다시 활성화할 수 있습니다.
이는 전원 버튼이 우발적으로 눌려지는 것을 방지하기 위해 고안되었습니다.
前門板內側有電源開關保護鎖。如以下圖示,只要往右推就可以讓門板上的電源按鈕失效。關上前門板後,使用鑰匙鎖住門板,電源開關就無法使用,
往左推又可以恢復正常。
這個設計可以避免不小心碰觸電源開關而開機。
前门板内侧有电源开关保护锁。如以下图示,只要往右推就可以让门板上的电源按钮失效。关上前门板后,使用钥匙锁住门板,电源开关就无法使用,
往左推又可以恢复正常。
这个设计可以避免不小心碰触电源开关而开机。
フロントドアパネルには、電源ボタンロックが付いています。下図をご参照ください。電源ボタンロックが右に押されると、フロントパネル
上の電源ボタンが無効になります。フロントパネルを閉じた後に、キーを使ってパネルをロックし、電源ボタンを無効にできます。電源ボタ
ンロックを左に押すことで、フロントパネル上で電源スイッチを再び使用可能にすることができます。
これは、電源ボタンが誤って押されるのを防止するように設計されています。

Related product manuals