EasyManua.ls Logo

Sime 2R12 - 2.7 Electrical Connection

Sime 2R12
10 pages
Print Icon
To Next Page IconTo Next Page
To Next Page IconTo Next Page
To Previous Page IconTo Previous Page
To Previous Page IconTo Previous Page
Loading...
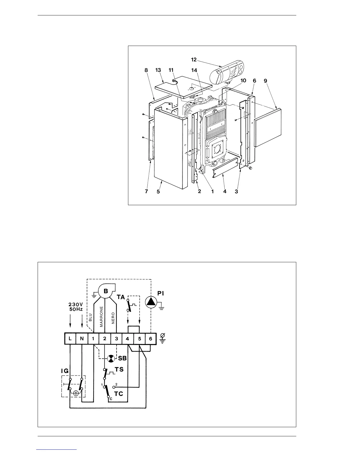
assemble the lower rear panel (7)
with the eight self-tapping screws
provided;
assemble the upper rear panel (8)
with the six self-tapping screws pro-
vided;
fix the control panel (12) to the cover
(13) using the check nut (14);
unwind the capillary tubes of the two
thermostats and thermometer by
inserting their sensors inside the
sheath (11), securing the assembly
in position using the capillary tube
retaining spring provided;
screw the water gauge to the check
valve (10);
complete assembly by fixing the
cover (13) and the front panel (9) to
the side parts.
NOTE: Remove the Testing Certifi-
cate” from inside the combustion
chamber and keep together with
the instructions manual.
2.7 ELECTRICAL CONNECTION
(figg. 9 - 9/a)
The boiler is fitted with an electricity
cable, and requires a a single-phase
power supply of 230V - 50Hz throu-
gh the main switch protected by
fuses. The room thermostat (requi-
red for enhanced room temperatu-
re control) must be connected to
the terminals 4-5 after removing
the link. Connect the burner cable
supplied.
NOTE: Device must be connected to
an efficient earthing system. SIME
declines all responsibility for injury
caused to persons due to failure to
earth the boiler.
Always turn off the power supply
before doing any work on the electri-
cal panel.
29
Fig. 8
KEY
IG Main switch
TA Room stat (not supplied)
PI C.H. pump (not supplied)
TC Boiler stat
TS Safety stat
B Burner (not supplied)
SB Burner lock-out lamp
NOTA: The room stat must be con-
nected to the terminals 4-5 after
removing the link.
Fig. 9
“1R/2R” boilers

Other manuals for Sime 2R12

Related product manuals