EasyManua.ls Logo

Sime ECOMAXI VB 200 - Page 14

Sime ECOMAXI VB 200
Print Icon
To Next Page IconTo Next Page
To Next Page IconTo Next Page
To Previous Page IconTo Previous Page
To Previous Page IconTo Previous Page
Loading...
11
6. Istruzioni per il collegamento delle tubature
(1) Requisiti per l'installazione dei tubi di ingresso dell'acqua
La filettatura della vite è 3/4" BSP F. La durata dei tubi e dei
componenti dei tubi non può essere inferiore
alla durata dell'apparecchio e devono essere in grado di resistere a temperature elevate di 80
, in
modo
da evitare danni.
(2) Requisiti di installazione dei tubi di collegamento della valvoladi sicurezza
La filettatura del lato di ingresso è 3/4'' BSP M e quella del lato di uscita è 3/4'' BSP F. Assicurarsi che
l'acqua possa uscire dalla valvola di sicurezza e che l'uscita di drenaggio sia installata diritta verso il basso.
Al termine dell'installazione, assi
curarsi che il tubo di drenaggio collegato all'uscita di drenaggio
della
valvola di sicurezza sia mantenuto verso il basso e
rimanga aperto
verso l'ambiente
privo
di
gelo.
(3) L'intervallo di pressione del serbatoio dell'acqua è di 0,15MPa~1,0MPa. Se la pressione di ingresso
dell'acqua è sempre inferiore a 0,15MPa e per ottenere un flusso d'acqua più elevato per soddisfare i
requisiti di
consumo,
è necessario aggiungere una pompa booster all'ingresso dell'acqua
in
modo da
mantenere la
pressione dell'acqua non inferiore a 0,15MPa; se la pressione di ingresso dell'acqua è
sempre superiore a
0,5MPa,
è necessario aggiungere una valvola riduttrice di
0,5MPa
al tubo diingresso
dell'acqua
in modo
da garantire
l'uso sicuro delserbatoio.
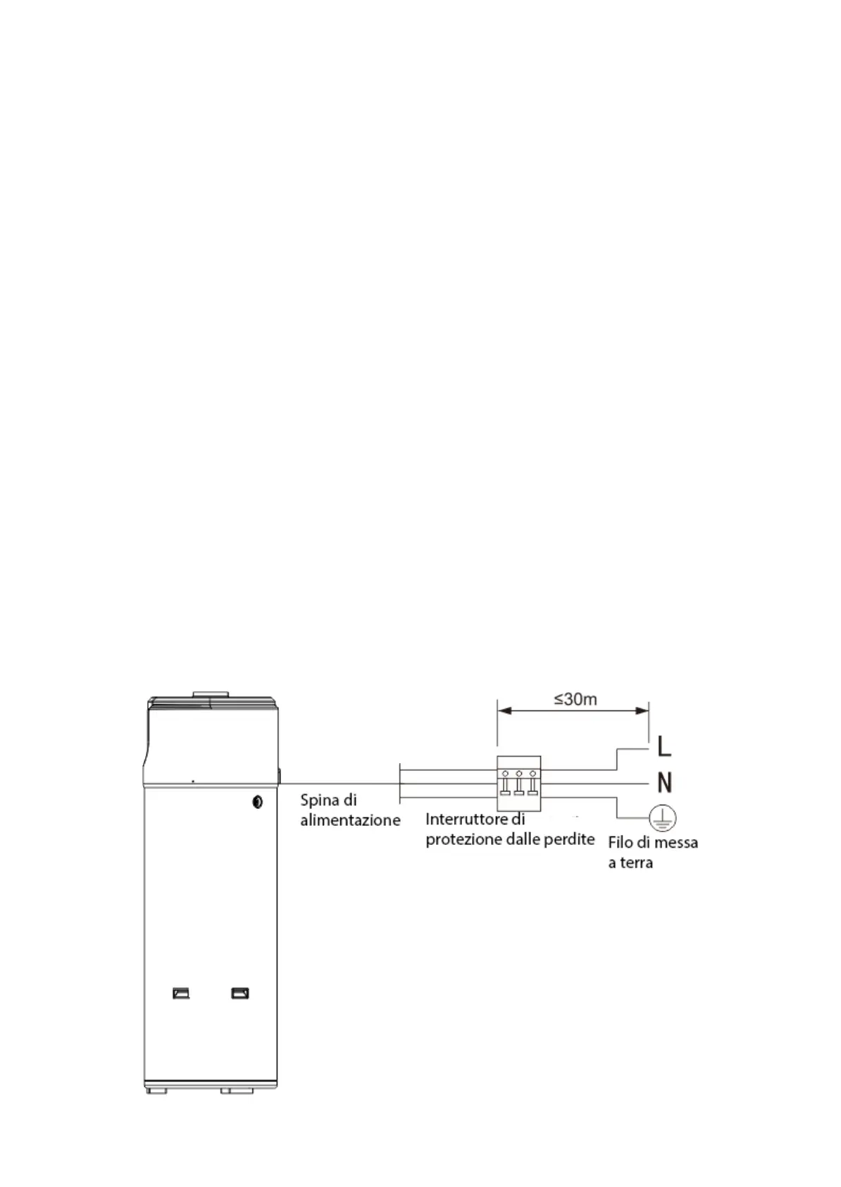
7. Cablaggio elettrico
Questo apparecchio
deve utilizzare un cavo di alimentazione
specifico,
come indicato nella tabella
seguente. Anche la tensione di alimentazione deve essere adeguata ai requisiti di tensione nominale.
Il
circuito di alimentazione deve avere un filo di messa a
terra,
che deve essere effettivamente
collegato alla messa a terra esterna.
Il
collegamento dei cavi deve essere eseguito da un tecnico professionista e deve essere
rigorosamente conforme
allo schema elettrico.
●Impostare la protezione contro le dispersioni a terra secondo gli standard nazionali relativi alle
apparecchiature elettriche.
●Installare un interruttore automatico onnipolare con una separazione minima dei contatti di 3 mm.
●Controllare due volte
il
circuito elettrico prima di collegarlo all'alimentazione.
●Non
scollegare
o smontare
il
filo di messa a
terra,
né utilizzare cavi e interruttori rotti
in
nessun caso.
In
caso di
rottura, il
cavo di alimentazione deve essere sostituito al più presto.
(1) Protezione dalle dispersioni aterra
Fig.7 Protezione da dispersione a terra

Other manuals for Sime ECOMAXI VB 200

Related product manuals