EasyManua.ls Logo

Sime Format 25/60 - Page 33

Sime Format 25/60
Print Icon
To Next Page IconTo Next Page
To Next Page IconTo Next Page
To Previous Page IconTo Previous Page
To Previous Page IconTo Previous Page
Loading...
2.6
REGULADOR DE CAUDAL (fig. 6)
En entrada del agua sanitaria es posible
instalar el regulador de caudal de 10 l/min
(amarillo) para la vers. “25 / 60” y de 12
l/min (marrón) para la versión “30 / 60”.
El regulador está suministrado en el kit
grifos de unión cód. 8091805.
2.7 CHIMENEA
El tubo de la chimenea para la evacuación
de los productos de la combustión de apa-
ratos de tiro natural debe respetar los
siguientes requisitos:
ser estanco para los productos de la
combustión, impermeable y térmicamen-
te aislado;
estar realizado por materiales aptos
para resistir en el tiempo a las normales
solicitaciones mecánicas, al calor y a la
acción de los productos de la combustión
y de sus eventuales condensados;
estar puesto verticalmente y no tener
estrechamientos por toda su longitud;
tener aislamiento apropiado para evitar
fenómenos de condensación o de enfria-
miento de los humos, particularmente si
está puesto en el exterior del edificio o en
cuartos no calentados;
estar distanciado adecuadamente de
materiales combustibles o fácilmente
inflamables mediante una capa de aire
intermedia o aislantes adecuados;
tener debajo de la entrada del primer
tramo de tubo de humos, una cámara de
depósito de materiales sólidos y eventua-
les condensaciones, de altura igual por lo
menos a 500 mm.
El acceso a esta cámara debe asegurar-
se por una abertura con una puerta
metálica con cierre estanco al aire;
tener una sección interior de forma cir-
cular, cuadrada o rectangular: en estos
dos últimos casos los ángulos tienen que
estar redondeados, con un radio no infe-
rior a los 20 mm; de todas formas, se
admiten también secciones hidráulica-
mente equivalentes;
tener por encima una capucha, cuya sali-
da tiene que estar fuera de la así llamada
zona de reflujo, para evitar la formación
de contrapresiones, que impidan la
descarga libre en la atmósfera de los
productos de la combustión;
no tener medios mecánicos de aspira-
ción puestos por encima del conducto;
en una chimenea que pase dentro, o es
al lado de cuartos habitados, no debe exi-
stir sobrepresión alguna.
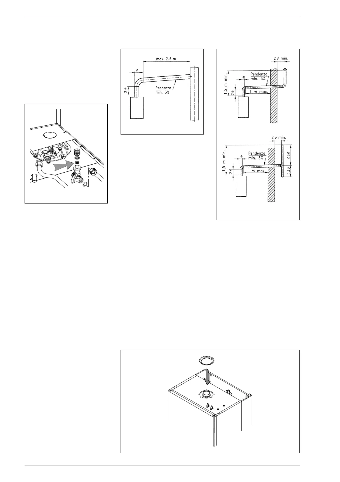
2.7.1 Conexión chimenea
La figura 7 se refiere a la conexión de la cal-
dera “25/60 OF” con el humero o la chi-
menea, a través de canales para el humo.
Para realizar la conexión, aconsejamos,
además de respetar los valores indicados,
utilizar materiales estancos, aptos para
resistir a las solicitaciones mecánicas y al
calor de los humos. En cualquier punto del
canal para el humo la temperatura de los
productos de la combustión debe ser supe-
rior a la del punto de rocío. No se deben rea-
lizar más de tres cambios de dirección,
incluida la unión de conexión a la chimenea
o al humero. Para los cambios de dirección
utilizar sólo elementos curvos.
La figura 8 pone en evidencia algunas apli-
caciones de las conexiones terminales de
tiro, que aseguran una eliminación correcta
de los productos de la combustión en caso
de descarga a la pared.
2.8 CONDUCTO COAXIAL
“25/60 BF - 30/60 BF”
El conducto de aspiración y evacuación
coaxial ø 60/100 se suministra en un kit
cód. 8084805 completo de hoja de instruc-
ciones para el montaje.
2.8.1 Instalación diafragma
El diafragma se suministra de serie unido a
la caldera vers. “30/60 BF”. Para la ubica-
ción véase fig. 9.
ATENCION:
Instale el diafragma solamente con la lon-
gitud del conducto coaxial ø 60/100 es
inferior a 1 m.
31
Fig. 7
Fig. 6
Fig. 8
Fig. 9

Related product manuals