EasyManua.ls Logo

Sime Format.zip 25 BF - Page 16

Sime Format.zip 25 BF
Print Icon
To Next Page IconTo Next Page
To Next Page IconTo Next Page
To Previous Page IconTo Previous Page
To Previous Page IconTo Previous Page
Loading...
14
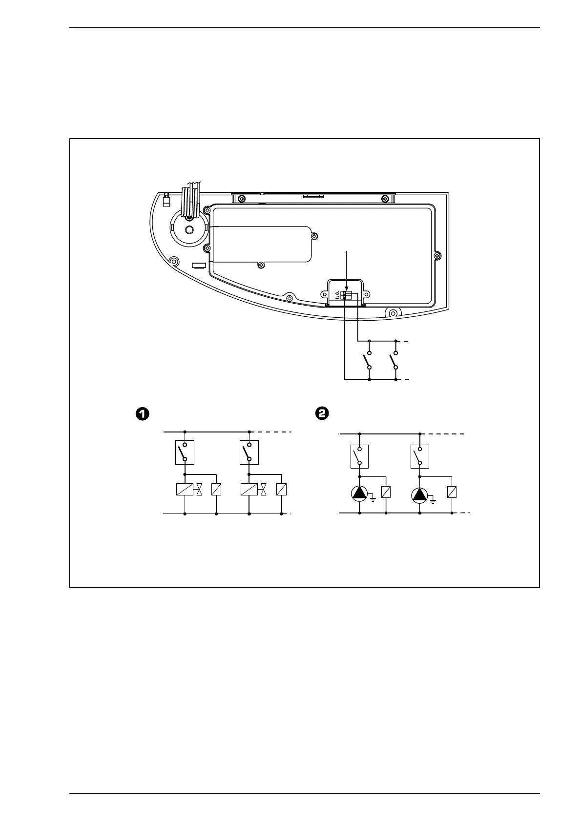
3.9 COLLEGAMENTO ELETTRICO
IMPIANTI A ZONE
Per la realizzazione di questa tipologia di
impianto, utilizzare una linea elettrica a
parte sulla quale si dovranno allacciare i
termostati ambiente con relative valvole o
pompe di zona. ll collegamento dei micro o
dei contatti relè va effettuato sui morsetti
10-11 del connettore “TA della scheda
elettronica dopo aver tolto il ponte esisten-
te (fig. 18).
L
N
TA
TA
1
VZ
R
VZ1
R1
NOTA: I relé vengono impiegati solo nel caso
le valvole di zona siano prive di micro.
CR1
CR
Connettore "TA"
L
N
TA
TA1
P
R
P1
R1
CIRCUITO CON VALVOLE DI ZONA
CIRCUITO CON POMPE DI ZONA
LEGENDA
TA-TA1 Termostato ambiente di zona
VZ-VZ1 Valvola di zona
R-R1 Relé di zona
CR-CR1 Contatto relé o micro valvola di zona
P-P1 Pompa di zona
Fig. 18

Related product manuals