EasyManua.ls Logo

Sime Format.zip 25 BF - Page 41

Sime Format.zip 25 BF
Print Icon
To Next Page IconTo Next Page
To Next Page IconTo Next Page
To Previous Page IconTo Previous Page
To Previous Page IconTo Previous Page
Loading...
L
N
TA
TA
1
VZ
R
VZ1
R1
NOTA: I relé vengono impiegati solo nel caso
le valvole di zona siano prive di micro.
CR1
CR
Connettore "TA"
L
N
TA
TA1
P
R
P1
R1
CIRCUITO CON VALVOLE DI ZONA
CIRCUITO CON POMPE DI ZONA
LEYENDA
TA-TA1 Termóstato ambiente de zona
VZ-VZ1 Válvula de zona
R-R1 Relé de zona
CR-CR1 Contacto relé o inicio válvula de zona
P-P1 Bomba de zona
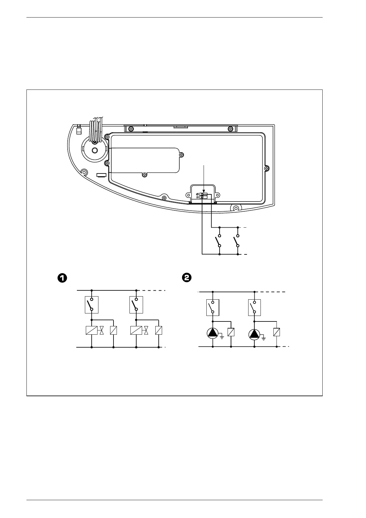
Fig. 18
39
3.9 CONEXIONES ELECTRICAS
PARA INSTALACIONES DE ZONAS
Para la realización de esta tipología de
instalación utilice una línea eléctrica aparte
sobre la cual se deberán conectar los
termóstatos ambientes con las relativas
válvulas o bombas de zona.
La conexión de los micro o de los contactos
de los relé se efectúa en los bornes 10-11
“TA de la ficha electrónica después de
haber eliminado el puente existente (fig. 18).
CIRCUITO CON VALVULAS DE ZONA
CIRCUITO CON BOMBAS DE ZONA
NOTA: Los relé se emplean sólo en el caso que las
válvulas de zona no posean el micro.
Conector “TA

Related product manuals