EasyManua.ls Logo

Sime Format.zip 25 BF - Page 85

Sime Format.zip 25 BF
Print Icon
To Next Page IconTo Next Page
To Next Page IconTo Next Page
To Previous Page IconTo Previous Page
To Previous Page IconTo Previous Page
Loading...
83
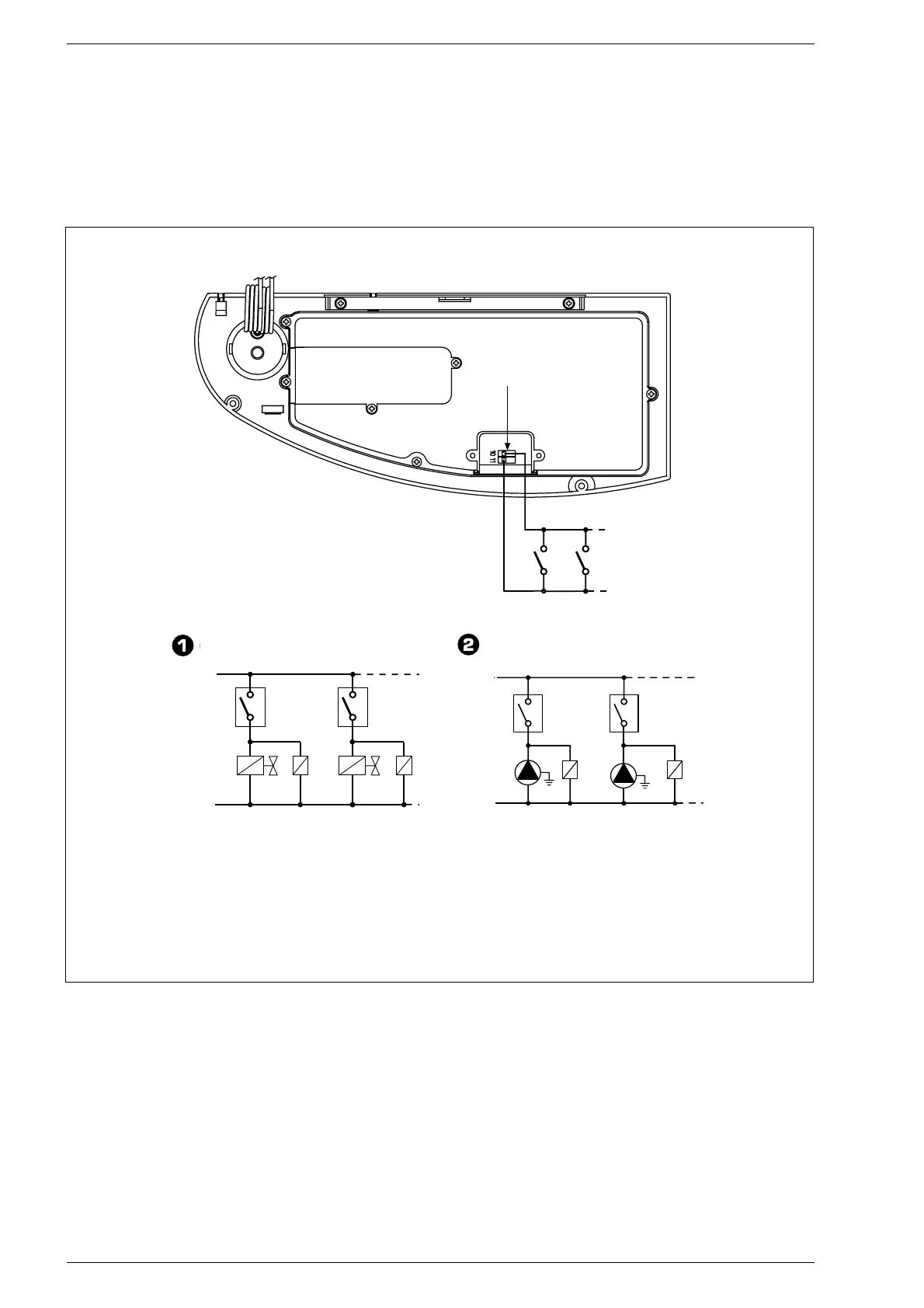
3.9 ELECTRICAL WIRING
OF ZONE HEATING SYSTEMS
When installing a system of this type, use a
separate electrical line to which room ther-
mostats with their local valves or pumps
will be connected.
Connect micro switches or relay contacts
on terminals 10-11 of the “TA connector of
the electronic card after removing the exi-
sting jumper (fig. 18).
L
N
TA
TA
1
VZ
R
VZ1
R1
NOTA: I revengono impiegati solo nel caso
le valvole di zona siano prive di micro.
CR1
CR
Connettore "TA"
L
N
TA
TA1
P
R
P1
R1
CIRCUITO CON VALVOLE DI ZONA
CIRCUITO CON POMPE DI ZONA
Fig. 18
CIRCUIT WITH ZONE PUMPS
CIRCUIT WITH ZONE VALVES
NOTE: Relays are used only if the area valves have
no microswitches.
KEY
TA-TA1 Zone room stat
VZ-VZ1 Zone valve
R-R1 Zone relay
CR-CR1 Relay contact or micro zone valve
P-P1 Zone pump
“TAconnector

Related product manuals