EasyManua.ls Logo

Simplicity 2600 Series - Hood, Grille & Dash Group

Simplicity 2600 Series
64 pages
Print Icon
To Next Page IconTo Next Page
To Next Page IconTo Next Page
To Previous Page IconTo Previous Page
To Previous Page IconTo Previous Page
Loading...
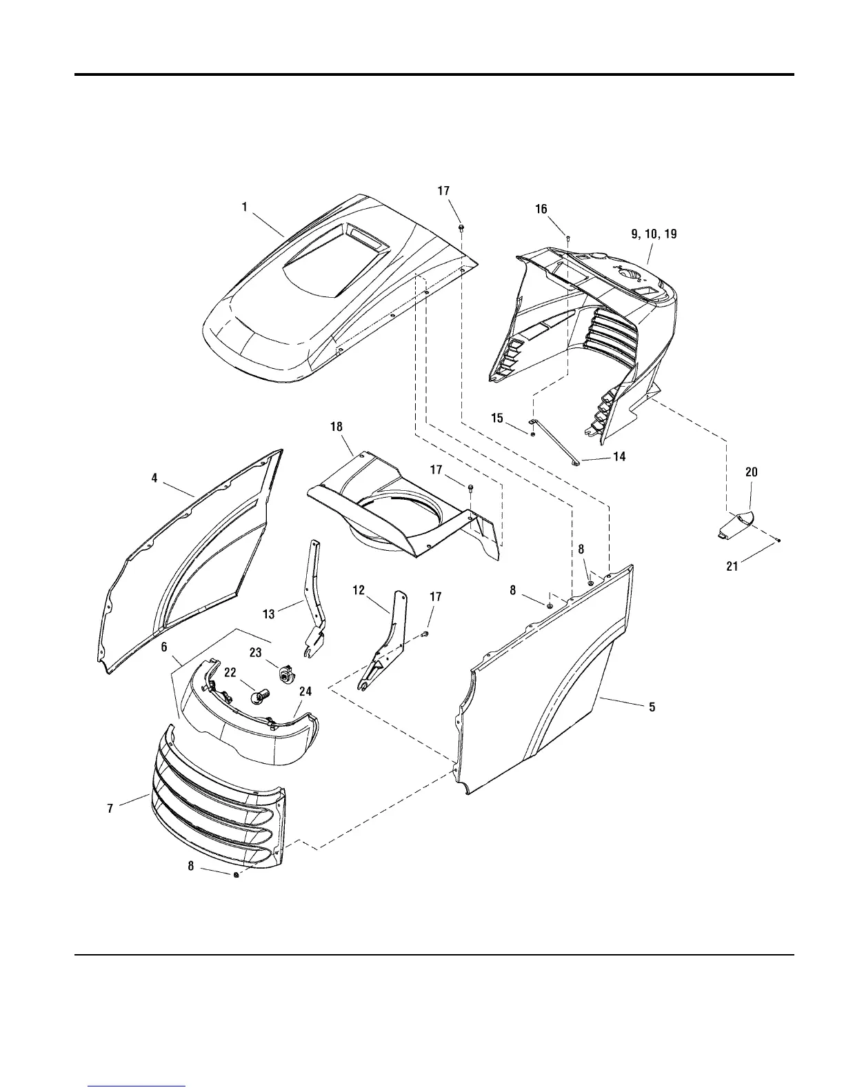
Hood, Grille & Dash Group
NOTE: Unless noted otherwise,
use the standard hardware torque
specification chart.
987167
The above parts group applies to the following Mfg. Nos.:
2008
24
© Copyright Simplicity Manufacturing, Inc. All Rights Reserved.
2690652 - 2620H
TP 400-4889-00-BM-SM

Related product manuals