EasyManua.ls Logo

Simpson PS60869 - Page 36

Simpson PS60869
52 pages
Print Icon
To Next Page IconTo Next Page
To Next Page IconTo Next Page
To Previous Page IconTo Previous Page
To Previous Page IconTo Previous Page
Loading...
36- SP
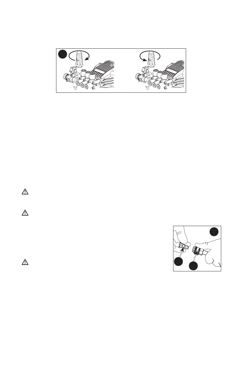
Para reducir la presión, gire la perilla de control de presión de la bomba en
sentido contra horario hasta la presión deseada.
Para volver la bomba a la presión original de fábrica, gire la perilla de control
de presión de la bomba en sentido horario hasta que se detenga.
-
+
6
AVISO: NO intente ajustar la perilla de control de presión más allá del tope incor-
porado ya que podría dañar la bomba.
AVISO: NO ajuste la perilla de control de presión de más. Si la ajusta de más,
la perilla PODRÍA romperse y perder inmediatamente la presión de agua con un
elevado costo de reparación de la unidad.
AVISO: NO intente incrementar la presión de la bomba. Una graduación superior a
la que trae de fábrica puede dañar la bomba.
CÓMO UTILIZAR EL TUBO APLICADOR
Las boquillas para la varilla pulverizadora están guardadas en el soporte para
boquillas en el ensamblado del panel. Los colores del panel identifican la ubicación
de la boquilla y el patrón de pulverización. Consulte el cuadro siguiente a fin de
elegir la boquilla correcta para el trabajo por realizar.
CAMBIO DE LAS BOQUILLAS DE LA VARILLA PULVERIZADORA (FIG. 7)
DANGER: Riesgo de inyección de líquido. No dirija el flujo de agua hacia
personas, piel y ojos desprotegidos, ni animales o mascotas. Se producirán
lesiones graves.
ADVERTENCIA: Los objetos despedidos podrían causar lesiones graves.
NO intente cambiar las boquillas mientras la lavadora a presión está
funcionando. Apague el motor antes de hacerlo.
1. Tire el acople de conexión rápida (E) haciaatrás e inserte
7
K
E
la boquilla (K).
2. Libere el acople y gire la boquilla para asegurarse de que
está asegurada dentro del acople.
ADVERTENCIA: Los objetos despedidos podrían
causar lesiones graves. Asegúrese de que la boquilla esté
completamente insertada en el adaptador de conexión
rápida yque el anillo a presión de conexión rápida esté totalmente trabado
(hacia adelante) antes de oprimir el disparador de la pistola.

Related product manuals