DC Inverter UNI SPLIT Series
Duct
Type Unit
35
reinforced with iron wire to a folding shape.
(4) The noise of downward return air is obvious bigger than that of rear return
air. For downward return air, silencer and static pressure carton shall be
added to conduct noise reduction treatment.
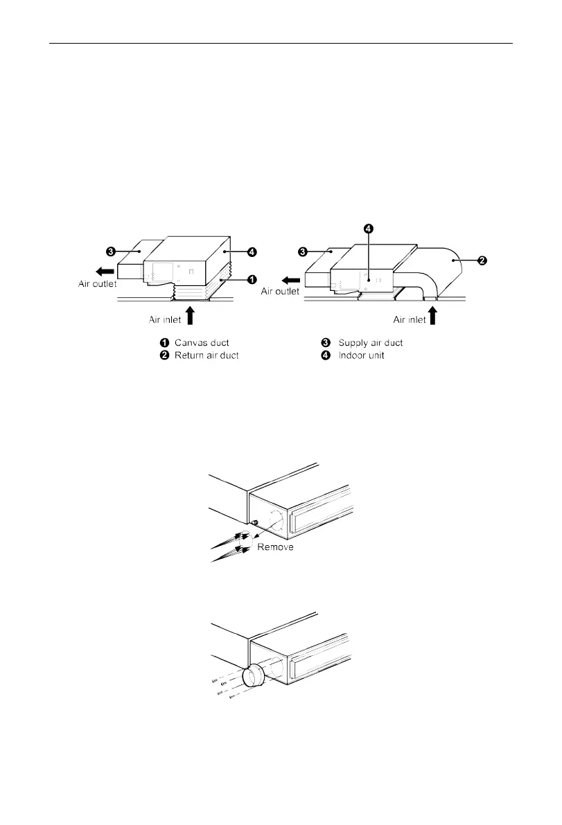
2.2.7.3 Installation of Supply Air Duct and Return Air Duct
Installation method shall be selected by entirely considering the conditions of
buildings, maintenance, etc.as is shown in the following figure.
2.2.7.4 Installation of Fresh Air Duct
(1) While connecting the fresh air duct, cut off the fresh air baffle plate as is
shown in the following figure. If the fresh air duct is not used, block the
gap of fresh air baffle plate with sponge.
(2) Install the round flange so that it can be connected to the fresh air duct, as
is shown in the following figure.
(3) The air duct and round flange duct shall be concealed and kept warm
well.
(4) The fresh air is the air after filtration.