EasyManua.ls Logo

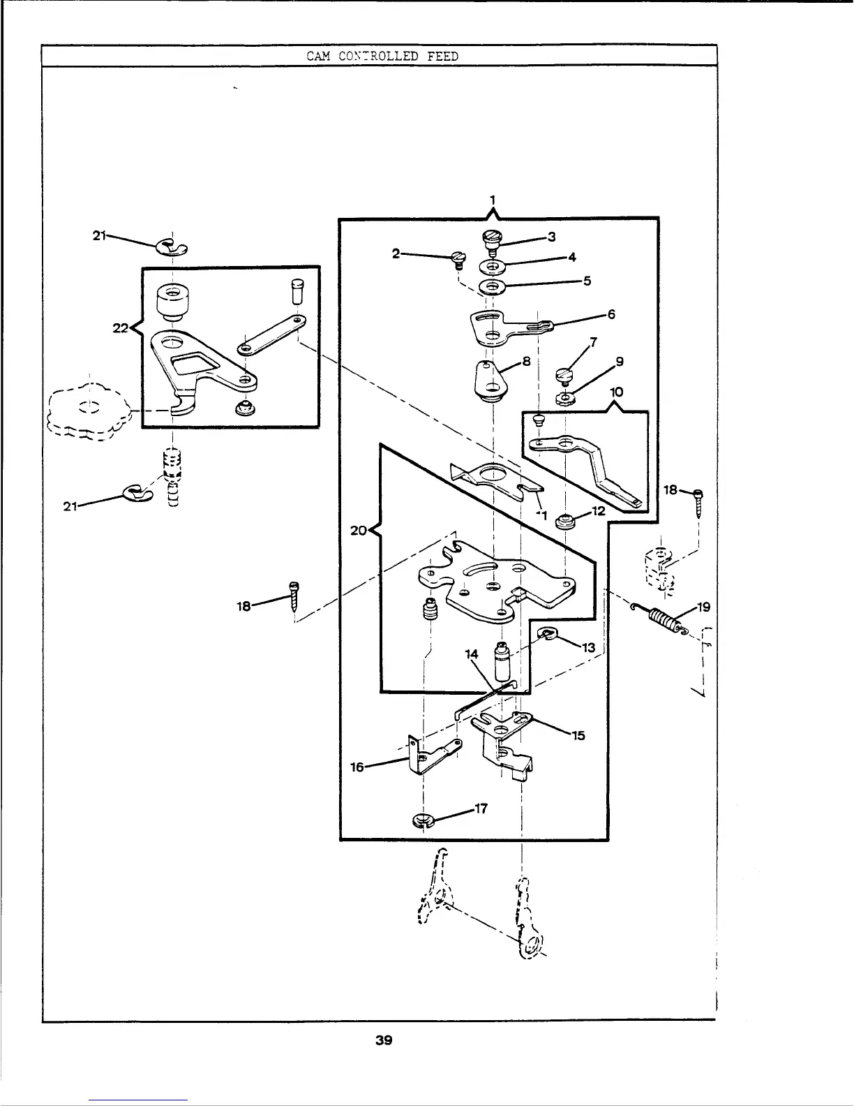
Singer 5802 - Cam Controlled Feed

Singer 5802
53 pages
Print Icon
To Next Page IconTo Next Page
To Next Page IconTo Next Page
To Previous Page IconTo Previous Page
To Previous Page IconTo Previous Page
Loading...

Related product manuals