EasyManua.ls Logo

Singer 6660 - Reverse Operation Button

Singer 6660
83 pages
Print Icon
To Next Page IconTo Next Page
To Next Page IconTo Next Page
To Previous Page IconTo Previous Page
To Previous Page IconTo Previous Page
Loading...
31
ȂȡțȘȤȖȭȕȎȘȞȓȝȘȖȒșȭȒȞȡȑȖȣȟȠȞȜȥȓȘ
ȆȐȓȗțȎȭȚȎȦȖțȎȐȩȝȜșțȭȓȠȘȞȜȦȓȥțȩȣȟȠȓȔȘȎȒșȭ
ȕȎȘȞȓȝȘȖȐȟȓȣȟȠȞȜȥȓȘȘȞȜȚȓȝȞȭȚȜȗȕȖȑȕȎȑȜȜȏȞȎȕțȜȗ
ȖȝȓȠȓșȪțȜȗǵȎȘȞȓȝȜȥțȩȓȟȠȓȔȘȖȏȡȒȡȠȝȞȜȟȠȞȜȥȓțȩȐ
ȠȜȚȚȓȟȠȓȑȒȓȏȡȒȓȠțȎȔȎȠȎȘțȜȝȘȎȦȖȠȪȭȐȜȏȞȎȠțȜȚ
țȎȝȞȎȐșȓțȖȖ
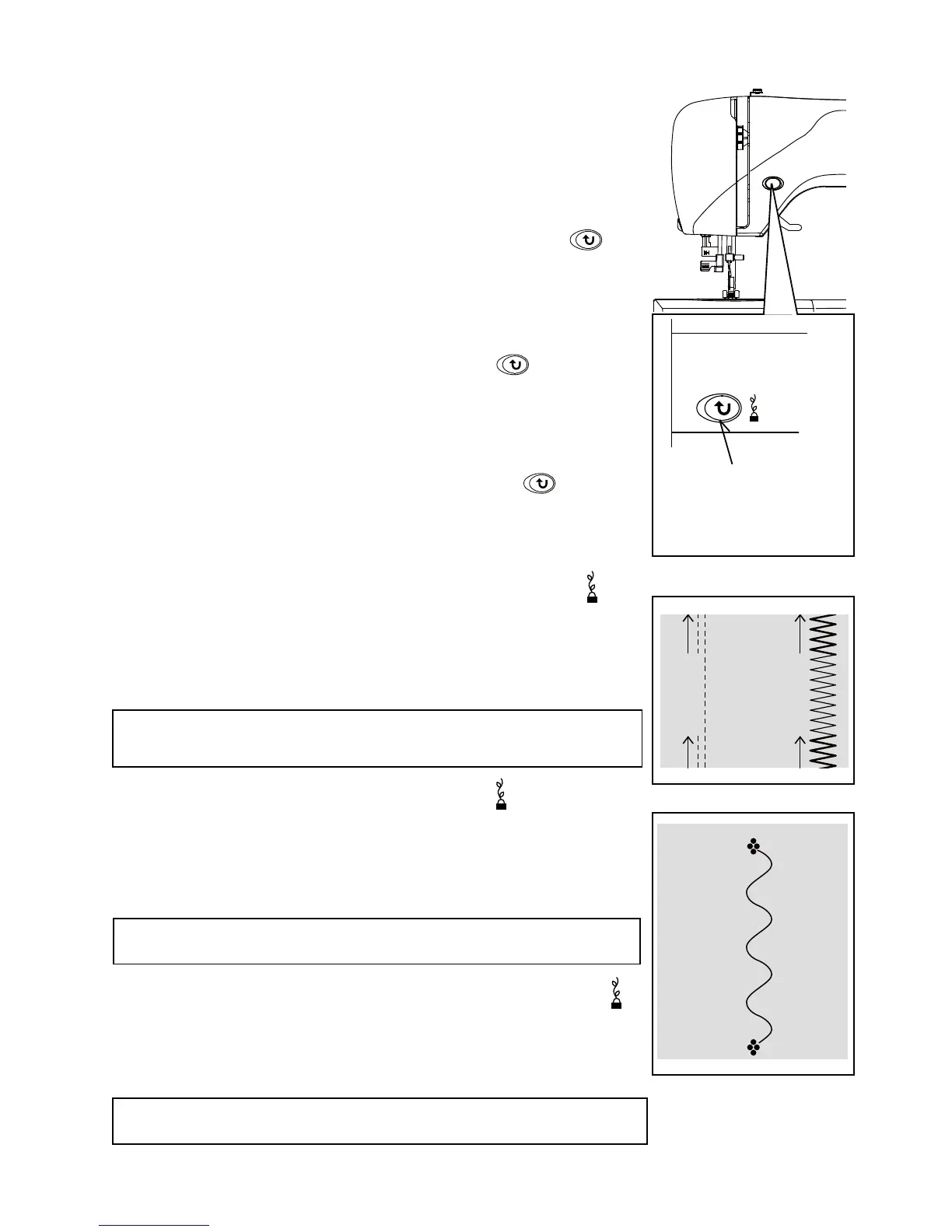
DUAL PURPOSE REVERSE/TACKING STITCH BUTTON
* Tacking stitch function for tie-off of other stitches ( )
The sewing machine makes 4 tiny tacking stitches to tie
off the sewing on all patterns except straight, zigzag and
buttonhole stitches. The position of the tacking stitches will be
at the exact spot in the pattern where the reverse/tacking stitch
button is pushed.
NOTE: This function is very useful for tying off the sewing
pattern to avoid raveling at the start and end of sewing.
Reverse stitch button
ǸțȜȝȘȎȦȖȠȪȭȐȜȏȞȎȠțȜȚ
țȎȝȞȎȐșȓțȖȖ
*HULGLNLúG÷PHVL
*
5HYHUVHVWLWFKIXQFWLRQIRUVWUDLJKWDQG]LJ]DJVWLWFKHV
)
Reverse sewing is carried out while the reverse stitch button is
pushed. The machine will continue to sew in reverse as long as
the reverse button is pressed.
REVERSE OPERATION BUTTON
ǸǻǼǽǸǮȆǶȀȊȍǰǼǯǾǮȀǻǼǺǻǮǽǾǮǰǹdzǻǶǶ
*(5ø'ø.øù'8ö0(6ø
ǸǻǼǽǸǮȆǶȀȊȍǰǼǯǾǮȀǻǼǺǻǮǽǾǮǰǹdzǻǶǶǶǵǮǸǾdzǽǸǶ
dø)7$0$d/,*(5ø'ø.øù3817(5ø='ø.øù'8ö0(6ø
ȂȡțȘȤȖȖȦȖȠȪȭȐȜȏȞȎȠțȜȚțȎȝȞȎȐșȓțȖȖ
ȒșȭȝȞȭȚȜȗȖȕȖȑȕȎȑȜȜȏȞȎȕțȜȗȟȠȞȜȥȘȖ
ǺȎȦȖțȎȦȪȓȠȐȜȏȞȎȠțȜȚțȎȝȞȎȐșȓțȖȖȝȞȖțȎȔȎȠȖȖ
țȎȘțȜȝȘȡȦȖȠȪȭȐȜȏȞȎȠțȜȚțȎȝȞȎȐșȓțȖȖ
ǺȎȦȖțȎȏȡȒȓȠȦȖȠȪȐȜȏȞȎȠțȜȚțȎȝȞȎȐșȓțȖȖȒȜȠȓȣ
ȝȜȞȝȜȘȎȏȡȒȓȠțȎȔȎȠȎȘțȜȝȘȎ
* 'L÷HUGLNLúOHULQVD÷ODPODúWÕUÕOPDVÕLoLQSXQWHUL]GLNLúIRQNVL\RQX
0DNLQHQL]G]]LJ]DJYHLOLNGLNLúOHULGÕúÕQGDEWQGHVHQOHUGHNL
GLNLúLVD÷ODPODúWÕUPDNLoLQLQFHSXQWHUL]GLNLú\DSDU
3XQWHUL]GLNLúOHULQNRQXPXGHVHQ]HULQGHJHULSXQWHUL]GLNLú
G÷PHVLQHEDVÕOGÕ÷ÕQRNWDRODFDNWÕU
ǽǾǶǺdzȅǮǻǶdzȋȠȎȢȡțȘȤȖȭȜȥȓțȪȝȜșȓȕțȎȒșȭȕȎȘȞȓȝȘȖ
ȟȠȞȜȥȓȘȐțȎȥȎșȓȖȘȜțȤȓȦȖȠȪȭ
127%XIRQNVL\RQGLNLúLQEDúODQJÕFÕQGDYHELWLúLQGH
LSOL÷LQo|]OPHVLQL|QOHPHNLoLQoRNID\GDOÕGÕU
* ']YH]LJ]DJGLNLúOHULoLQJHULGLNLúIRQNVL\RQX
*HULGLNLúG÷PHVLQHEDVÕOGÕ÷ÕQGDJHULGLNLú\DSÕOÕU
*HULGLNLúG÷PHVLEDVÕOÕWXWXOGXNoDPDNLQHJHULGLNLú\DSPD\D
GHYDPHGHFHNWLU

Related product manuals