EasyManua.ls Logo

Singer M2405 - Inserting the Needle

Singer M2405
36 pages
Print Icon
To Next Page IconTo Next Page
To Next Page IconTo Next Page
To Previous Page IconTo Previous Page
To Previous Page IconTo Previous Page
Loading...
24
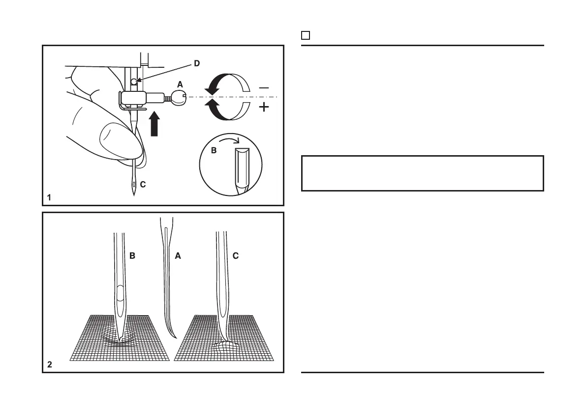
Inserting the Needle
Maintenance and Troubleshooting
Needles must be in perfect condition. (2)
Problems can occur with:
A. Bent needles
B. Damaged points
C. Blunt needles
Change the needle regularly, especially if it is showing signs
of wear and causing problems. For best sewing results
always use SINGER
®
Brand Needles.
Insert the needle as illustrated as follows:
A. Loosen the needle clamp screw and tighten again after
inserting the new needle. (1)
B. The at side of the shaft should be towards the back.
C/D. Insert the needle as far up as it will go.
Attention:
Turn power switch to off (“O”) before inserting or removing
the needle.

Related product manuals