EasyManua.ls Logo

Singer M3405 - Inserting the Needle

Singer M3405
40 pages
Print Icon
To Next Page IconTo Next Page
To Next Page IconTo Next Page
To Previous Page IconTo Previous Page
To Previous Page IconTo Previous Page
Loading...
26
Change the needle regularly, especially if it is showing signs
of wear and causing problems. For best sewing results
always use SINGER
®
Brand Needles.
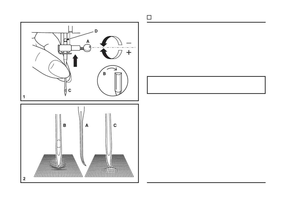
Insert the needle as illustrated as follows:
A. Loosen the needle clamp screw and tighten again after
inserting the new needle. (1)
B. The at side of the shaft should be towards the back.
C/D. Insert the needle as far up as it will go.
Attention:
Turn power switch to off (“O”) before inserting or removing
the needle.
Inserting the Needle
Maintenance and Troubleshooting
Needles must be in perfect condition. (2)
Problems can occur with:
A. Bent needles
B. Damaged points
C. Blunt needles

Related product manuals