EasyManua.ls Logo

Singer S0235 - Información General de Enhebrado; Preparativos para Coser; Qué Aguja E Hilo Utilizar con Distintas Telas

Singer S0235
64 pages
Print Icon
To Next Page IconTo Next Page
To Next Page IconTo Next Page
To Previous Page IconTo Previous Page
To Previous Page IconTo Previous Page
Loading...
PREPARATIVOS PARA COSER
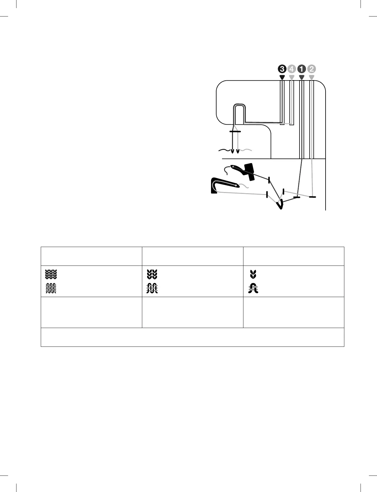
Información general de enhebrado
Dentro de la tapa delantera hay un diagrama codificado de
colores para que tenga una referencia rápida (véase la
ilustración de la derecha). Siempre comience por enhebrar las
devanadoras y posteriormente las agujas de izquierda a derecha
(siga el orden que se indica a continuación).
1. Devanadora superior Rojo
2. Devanadora inferior Amarillo
3. Aguja izquierda Azul
4. Aguja derecha Verde
Nota: Siempre levante el prensatelas antes de enhebrar.
Importante:
Si los hilos se rompen durante la costura, vuelva a
enhebrar todos los recorridos del hilo en el orden que
se indica a continuación.
1. Desenhebre la(s) aguja(s)
2. Desenhebre las devanadoras superior e inferior
3. Enhebre la devanadora superior
4. Enhebre la devanadora inferior
5. Enhebre la(s) aguja(s) de izquierda a derecha
Consulte la siguiente tabla para conocer las recomendaciones sobre qué agujas e hilos utilizar para distintos grosores de tela.
Qué aguja e hilo utilizar con distintas telas
Tejido fino
(lino, crepe, crespón, Georgette, etc.)
Tejido medio
(algodón, entretela, lana, satín, etc.)
Tejido grueso
(mezclilla, jersey, lana, etc.)
Agujas
tamaño #12/80, adecuadas para
máquinas overlock (agujas SINGER®
Overlock #2022)
Agujas
tamaño #14/90, adecuadas para
máquinas overlock (agujas SINGER®
Overlock #2022)
Agujas
tamaño #14/90, adecuadas para
máquinas overlock (agujas SINGER®
Overlock #2022)
Hilo
Hilo adecuado para máquinas overlock
Preparativos para coser 7
Espanõl

Table of Contents

Related product manuals